714-OB-CL-SAQ Three Light Ceiling Mount
Instruction Manual
ASSEMBLY INSTRUCTION MODEL #714-OB-CL-SAQ
714-OB-CL-SAQ Three Light Ceiling Mount
WARNING:

All electrical components must be installed by a licensed electrician in accordance with the National Electric Code and the appropriate local electrical codes
You will need 3- Candelabra Base Bulb 40 Watts recommended 60 Watts Max. USE LED BULBS FOR EXTENDED USE
The fixture is Dry rated
HOW TO INSTALL:
Place the fixture parts on a soft cloth-covered platform before installation of fixture.
- Install the mounting bar onto the outlet box.
- Raise the Frame up over the threaded nipple on the mounting bar.
After the wire connection is completed, Secure with the coupling. - Screw the center stem onto the coupling and secure with the nut.
- Adjust the hex nut along the bottom end of the center stem to allow the vase cap to stay in the correct position.
Secure the cap with the finial. - Dress the crystals as illustrated.

Crystal Sets
A. 35Sets. (1)28mm + (1)58mm Baguette + (1)20mm + (1)18mm + (1)16mm + (1)14mm + (1)12mm
WARNING: This product can expose you to Lead, which is known to the State of California to cause cancer and/or birth defects or reproductive harm. For more information go to www.p65warnings.ca.gov
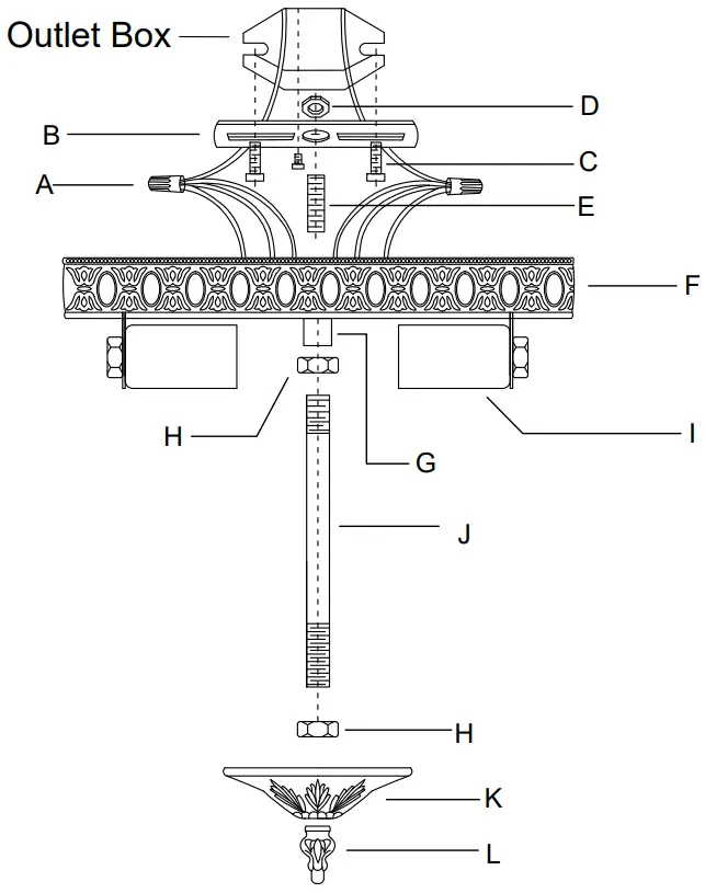
Part Number
Part Numbers
A. (2)-Wire Connector
B. (1)-Mounting bar
C. (2)-Screw
D. (1)-Hex nut
E. (1)-Threaded nipple
F. (1)-Frame ; Ø14″ ; 35 pin holes ; with inner plate.
G. (1)-Coupling
H. (2)-Hex Nut
I. (3)-Socket
J. (1)-Center stem ; H5 1/8″-XSN714OBSTEM5.125IN
K. (1)-Vase Cap ; Ø4″ ; 35 pin holes-XSN714OBCAP4IN
L. (1)-Finial-XSN714OBFIN





















