CRYSTORAMA 712-OB-CL-SAQ Three Light Ceiling Mount Instruction Manual
Dimensions

Crystal Sets
- A. 30Sets. (1)28mm + (1)58mm Baguette + (1)18mm +(1)16mm + (1)14mm + (1)12mm
Safety Instructions
![]() | ![]() |
| All electrical components must be installed by a licensed electrician accordance with the National Electric Code and the appropriate local electrical codes | You will need 3- Candelabra Base Bulb40 Watts recommended 60 Watts Max. USE LED BULBS FOR EXTENDED USE |
The fixture is Dry rated.
ASSEMBLY INSTRUCTIONS
HOW TO INSTALL:
Place the fixture parts on a soft cloth-covered platform before installation of fixture.
- Install the mounting bar onto the outlet box.
- Raise the Frame up over the threaded nipple on the mounting bar.
After the wire connection is completed, Secure with the coupling. - Screw the center stem onto the coupling and secure with the nut.
- Adjust the hex nut along the bottom end of the center stem to allow the vase cap to stay in the correct position.
Secure the cap with the finial. - Dress the crystals as illustrated.
WARNING:
This product can expose you to Lead, which is known to the State of California to cause cancer and/or birth defects or reproductive harm.
For more information go to: www.p65warnings.ca.gov
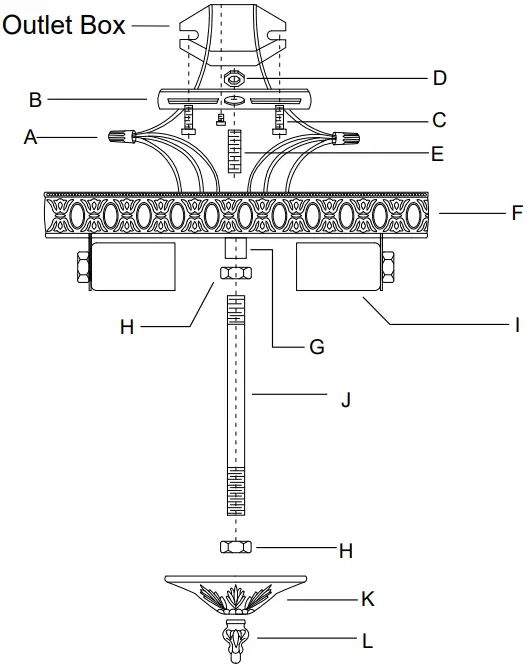
Part Number
- A. (2)-Wire Connector
- B. (1)-Mounting bar
- C. (2)-Screw
- D. (1)-Hex nut
- E. (1)-Threaded nipple
- F. (1)-Frame ; Ø12″ ; 30 pin holes ; with inner plate.
- G. (1)-Coupling
- H. (2)-Hex Nut
- I. (3)-Socket
- J. (1)-Center stem ; 4 1/2″-XSN708OBSTEM4.5IN
- K. (1)-Vase Cap ; Ø3″ ; 30 pin holes-XSN712OBCAP3IN
- L. (1)-Finial-XSN708OBFIN
























