CRYSTORAMA DAN-400-PN Danielson Three Light Ceiling Mount
Overview

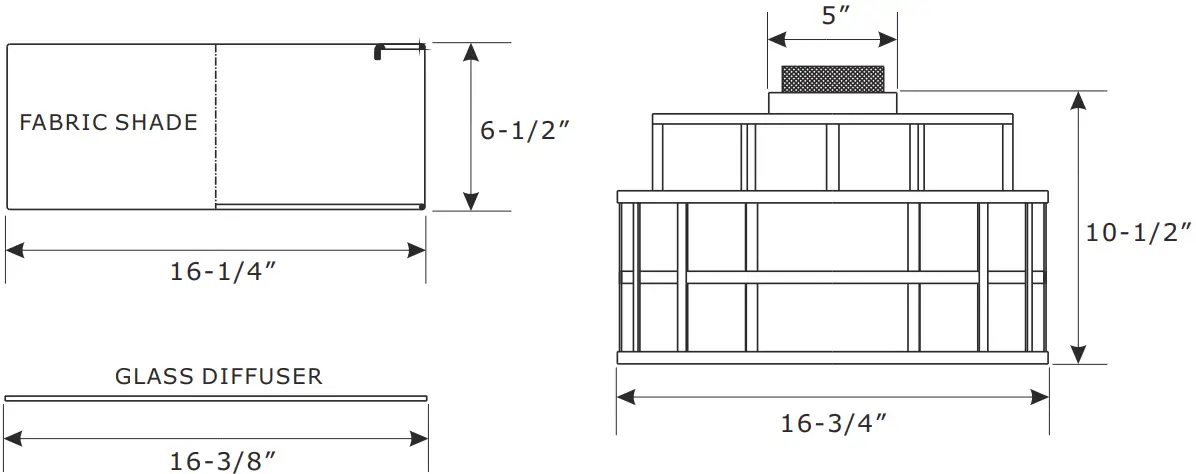
Dimension
HOW TO REPLACE THE BULB:
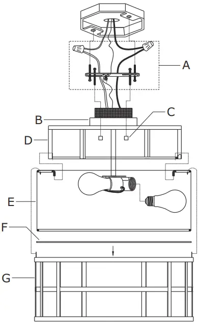
PLEASE TAKE THE LOWER FRAME OFF THE UPPER FRAME TO CHANGE THE BULB.

Safety Instruction
![]() | ![]() |
| All electrical components must be installed by a licensed electrician in accordance with the National Electric Code and the appropriate local electrical codes. | You will need 3-Medium Base Bulb 40 Watts Frosted bulb Recommended 60 Watts Max. USE LED BULBS FOR EXTENDED USE This fixture is Dry rated. |

How To Install
- Install the mounting screws into the matching holes in the mounting bar.
Secure the mounting bar to the outlet box with the outlet box screws. - Raise ceiling pan and upper frame allowing the mounting screws to protrude through the holes in the ceiling pan, and secure with the ball nut.
- Install the bulbs(not included) into the socket.
- Slide the glass diffuser into the bottom of the lower frame.
- Slide the fabric shade inside the lower frame and secure it with clips.
- Raise the lower frame up and hang it onto the ring on the bottom of the upper frame.
NOTE: HIDE THE SEAMS OF THE SHADE BY ALIGNING IT WITH A VERTICAL METAL BAR.
WARNING:
This product can expose you to Lead which is known to the state of California to cause cancer and/or birth defects or reproductive harm.
For more information go to: www.P65Warnings.ca.gov
Part Number
- A. (1)-Mounting hardware
- B. (1)-Ceiling pan W5’’xH1’’
- C. (2)-Ball nut #XRF400PNBANUT
- D. (1)-Upper frame
- E. (1)-Fabric shade W16-1/4’’XH6-1/2’’ #XRF400SHA16.25IN
- F. (1)-Glass diffuser #XRF400DIF16.375IN
- G. (1)-Lower frame

CUSTOMER SUPPORT






















