
ANN-2105-PN Anniversary Two Light Ceiling Mount
Instruction Manual
ASSEMBLY INSTRUCTION MODEL#ANN-2105-PN
ANN-2105-PN Anniversary Two Light Ceiling Mount

WARNING:
![]()
All electrical components must be installed by a licensed electrician in accordance with the National Electric Code and the appropriate local electrical codes.![]()
You will need 2-Medium Base Bulb 40 Watts Recommended 60 Watts Max. USE LED BULBS FOR EXTENDED USE This fixture is Damp rated
How to install
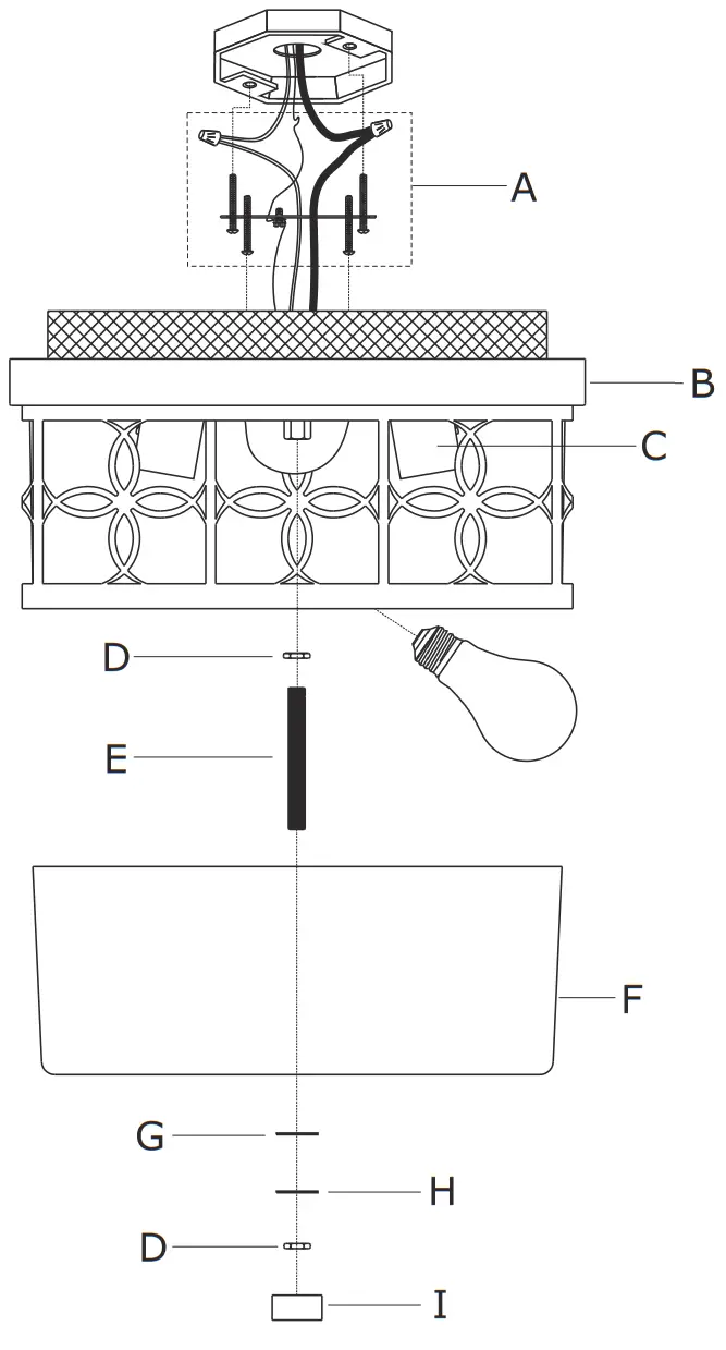
- Thread the mounting screws into the matching holes in the mounting bar. Secure the mounting bar to outlet box with the outlet box screws.
- Connect fixture wires to supply wires in outlet box.
- Raise ceiling pan up allowing for the mounting screws to protrude through key slots on the ceiling pan. Rotate ceiling pan clockwise until mounting screws are in narrow part of key slots, tighten with screwdriver.
- Install the bulb(not included) into the socket.
- Thread the nipple onto the coupling and adjust the length of nipple to fit with the glass. Tighten it with hex nut.
- Slide the glass, the plastic washer and the metal washer over the nipple, then secure with the hex nut and finial.

WARNING: This product can expose you to Lead which is known to the state of California to cause cancer and/or birth defects or reproductive harm. For more information go to www.P65Warnings.ca.gov
Part Number
Part Numbers
A. (1)-Mounting hardware
B. (1)-Ceiling pan
C. (2)-Socket
D. (2)-Hex nut
E. (1)-Nipple
F. (1)-Glass #XRF2105GLA12.5IN
G. (1)-Plastic washer
H. (1)-Metal washer
I. (1)-Finial #XRF2105PNFIN




















