LIGHTING THE WAY FOR SIXTY YEARS
MODEL#2255-PN_CEILING
ASSEMBLY INSTRUCTION
2255-PN_CEILING Westwood Five Light Ceiling Mount
![]() | ![]() | ![]() |
All electrical components must be installed by a licensed electrician in accordance with the National Electric Code and the appropriate local electrical codes.
You will need 5- Candelabra Base Bulb 40 Watts Recommended 60 Watts Max.
USE LED BULBS FOR EXTENDED USE This fixture is Dry rated
How to install
For hanging:
- Slip the plastic washer over the nipple, and thread the top loop onto the nipple.
- Determine the preferred hanging height and adjust the chain to the length required.
- Install the fixture onto the outlet box.
- Install the bulbs(not included) into the socket.
For ceiling:
- Remove the top loop and plastic washer.
- Slip the canopy with 2-hole , the metal washer and lock washer over the nipple, then secure with the big hex nut.
- Thread the mounting screws into the matching holes of the circular strap, and tighten with the small hex nut.
- Secure the circular strap to the outlet box with the outlet box screws.
- Raise canopy allowing the mounting screws to protrude through the holes in the canopy, and secure with the finials.
- Install the bulb(not included) into the socket.
WARNING: This product can expose you to Lead which is known to the state of California to cause cancer and/or birth defects or reproductive harm. For more information go to www.P65Warnings.ca.gov
Part Number
Part Numbers
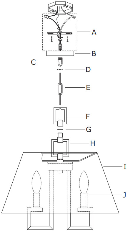
A. (1)-Mounting hardware
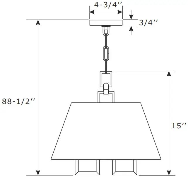
B. (1)-Canopy (center hole) W4-3/4’’xH3/4’’ #XRF2254PNCAN4.75IN
C. (1)-Collar Loop
D. (1)-Collar ring
E. (1)-Chain -L72’’, 4mm thick #XRF2254PNCHA4MM
F. (1)-Top loop
G. (1)-Plastic washer
H. (1)-Bottom loop
I. (1)-Fabric shade W16’’xH8-1/4’’ #XRF2255SHA16IN
J. (5)-Candle sleeve W7/8’’xH2’’ #XRF2254PNCDL2IN
K. (1)-Canopy with 2-hole W4-3/4’’xH3/4’’ #XRF2255PNCAN4.75IN2H
L. (2)-Finial #XRF2255PNFIN
| FOR HANGING: | FOR CEILING: |
![]() | ![]() |























