CRYSTORAMA 2255-VG_CEILING Westwood Five Light Ceiling Mount
Product Information
The Crystorama Model#2255-VG_CEILING is a lighting fixture that has been manufactured by Crystorama for sixty years. The fixture is dry rated and requires 5-Candelabra Base Bulbs with a recommended wattage of 40 Watts and a maximum wattage of 60 Watts. LED bulbs are recommended for extended use. The product is available for both hanging and ceiling installation and comes with the necessary mounting hardware. The fixture has a fabric shade, five candle sleeves, and a metallic finish.
PARTS LIST

DIMENSIONS

WARNING: Electrical Danger Turn Power off
- All electrical components must be installed by a licensed electrician in accordance with the National Electric Code and the appropriate local electrical codes.

- You will need 5- Candelabra Base Bulb 40 Watts Recommended 60 Watts Max. USE LED BULBS FOR EXTENDED USE This fixture is Dry rated
How to install
For hanging:
- Slip the plastic washer over the nipple, and thread the top loop onto the nipple.
- Determine the preferred hanging height and adjust the chain to the length required.
- Install the fixture onto the outlet box.
- Install the bulbs(not included) into the socket.
For ceiling:
- Remove the top loop and plastic washer.
- Slip the canopy with 2-hole , the metal washer and lock washer over the nipple, then secure with the big hex nut.
- Thread the mounting screws into the matching holes of the circular strap, and tighten with the small hex nut.
- Secure the circular strap to the outlet box with the outlet box screws.
- Raise canopy allowing the mounting screws to protrude through the holes in the canopy, and secure with the finials.
- Install the bulb(not included) into the socket.
WARNING: This product can expose you to Lead which is known to the state of California to cause cancer and/or birth defects or reproductive harm. For more information go to www.P65Warnings.ca.gov
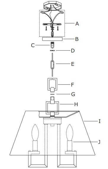
Part Number
- A. (1)-Mounting hardware
- B. (1)-Canopy (center hole) W4-3/4”xH3/4” #XRF2254VGCAN4.75IN
- C. (1)-Collar Loop
- D. (1)-Collar ring
- E. (1)-Chain -L72”, 4mm thick #XRF2254VGCHA4MM
- F. (1)-Top loop
- G. (1)-Plastic washer
- H. (1)-Bottom loop
- I. (1)-Fabric shade W16”xH8-1/4” #XRF2255SHA16IN
- J. (5)-Candle sleeve W7/8”xH2” #XRF2254VGCDL2IN
- K. (1)-Canopy with 2-hole W4-3/4”xH3/4” #XRF2255VGCAN4.75IN2H
- L. (2)-Finial #XRF2255VGFIN
FOR HANGING

FOR CEILING



















