CRYSTORAMA 8884-PN Dixon Four Light Chandelier
ASSEMBLY INSTRUCTION
MODEL #8884-PN
WARNING
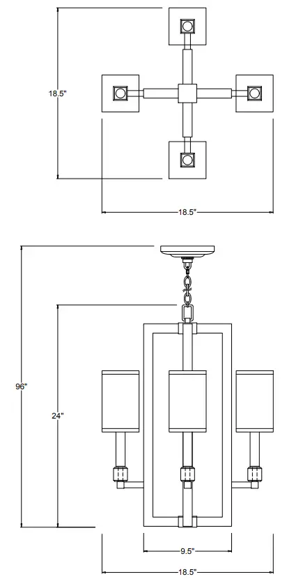
All electrical components must be installed by a licensed electrician in accordance with the National Electric Code and the appropriate local electrical codes. You will need 4-Cand.BULB 40 Watts Recommended 60 Watts Max Bulb not included USE LED BULBS FOR EXTENDED USE This fixture is DRY rated
How to Install
- Attach the mounting bar to the outlet box.
- Decide the preferred hanging height and choose the correct length of chain needed.
- Raise the fixture frame up over the ceiling and do the wire connection. Secure the canopy over the outlet box using the screw collar ring.
- Place the shade over the candle sleeve and install the bulb.

WARNING: This product can expose you to Lead, which is known to the State of California to cause cancer and/or birth defects or reproductive harm. For more information go to www.P65Warnings.ca.gov
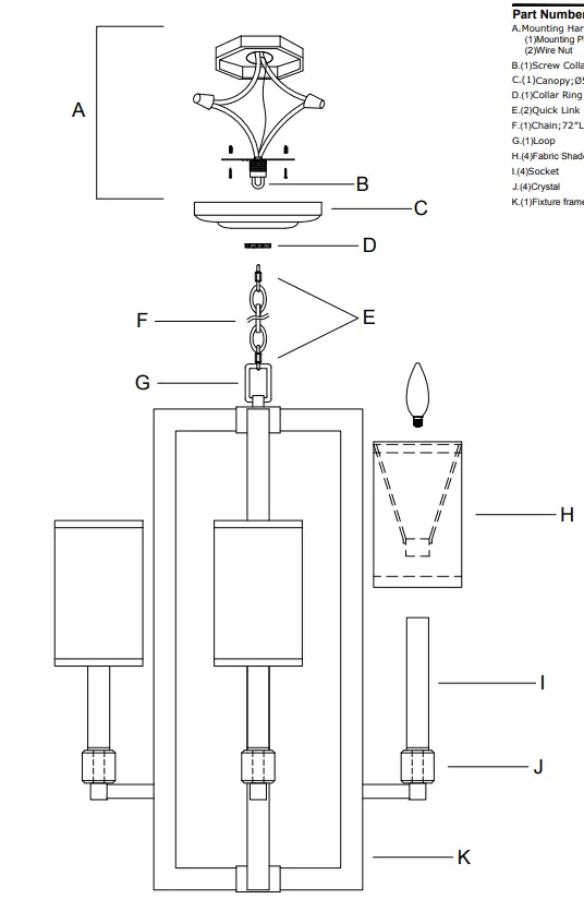
Part Number
- A. Mounting Hardware
- (1) Mounting Plate
- (2) Wire Nut
- (1)Screw Collar Loop
- (1)Canopy;Ø5.8″x1.2″h;XMO8884PNCAN5.8IN
- D.(1)Collar Ring
- (2)Quick Link
- (1)Chain;72″L x ∅5.0mmT;XMO8884PNCHA5MM G.(1)Loop
- (4)Fabric Shade;4″x4″x6.6″h;XMO8884SHA6.6IN I.(4)Socket
- (4)Crystal
- (1)Fixture frame





















