CRYSTORAMA 297-PN Grayson Five Light Chandelier

Product Information
The Crystorama model#297-PN is a dry-rated lighting fixture that requires 5 medium base bulbs with a recommended wattage of 60W and a maximum wattage of 100W. It comes with a mounting plate, canopy kit, rods, top and bottom shades, cylinder nuts, metal ring, hex nut, nipple, glass diffuser, plastic washer, and bottom finial. The fixture is 22-3/4 inches wide and 54-3/4 inches long with an adjustable hanging height. All electrical components must be installed by a licensed electrician in accordance with the National Electric Code and the appropriate local electrical codes. This product contains lead and may cause cancer and/or birth defects or reproductive harm.
Product Usage Instructions
- Separate the mounting plate from the canopy kit by removing the screws.
- Install the mounting plate to the outlet box using two outlet box screws.
- Determine the preferred hanging height and adjust the required rods.
- Feed the wires through the rods and connect them together.
- Slip canopy kit along wire and thread it into the top of the rod assembly.
- Install canopy onto the mounting plate and secure with the mounting screws.
- Install the bulb (not included) into the socket.
- Thread the nipple onto the coupling and adjust the length of nipple to fit with the glass. Tighten it with hex nut.
- Slide the glass diffuser and the plastic washer over the nipple, then secure with the bottom finial.
- To replace the bulb, open the top shade and replace the previous bulb with a new one. If replacing from the bottom, remove the bottom finial and diffuser to replace the bulb.
- For more information on the potential health risks associated with this product, please visit www.P65Warnings.ca.gov.
All electrical components must be installed by a licensed electrician in accordance with the National Electric Code and the appropriate local electrical codes.
You will need 5-Medium Base Bulb 60 Watts Recommended 100 Watts Max. USE LED BULBS FOR EXTENDED USE This fixture is Dry rated
How to install
- .Separate the mounting plate from the canopy kit by removing the screws.
- Install the mounting plate to the outlet box using two outlet box screws.
- Determine the preferred hanging height and adjust the required rods.
- Feed the wires through the rods and connect them together.
- Slip canopy kit along wire and thread it into the top of the rod assembly.
- Install canopy onto the mounting plate, and secure with the mounting screws.
- Install the bulb(not included) into the socket.
- Thread the nipple onto the coupling and adjust the length of nipple to fit with the glass. Tighten it with hex nut.
- Slide the glass diffuser and the plastic washer over the nipple, then secure with the bottom finial.

HOW TO REPLACE BULB:
FROM THE TOP OPENING OF SHADE, REPLACE PREVIOUS BULB W/ NEW BULB. (IF REPLACED FROM THE BOTTOM, YOU NEED TO REMOVE THE BOTTOM FINIAL AND DIFFUSER TO REPLACE THE BULB.)
SIMENSION


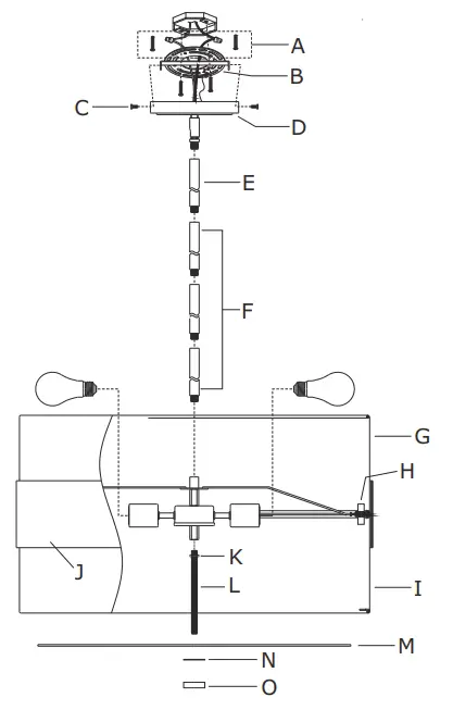
Part Numbers

- A. (1)-Mounting hardware
- B. (1)-Mounting plate
- C. (2)-mounting screw
- D. (1)-Canopy kit W5-7/8’’xH7/8’’ #XRF290PNCAN5.875IN E. (1)-Rod D5/8’’xL6’’ #XRF290PNROD6IN
- F. (3)-Rod D5/8’’xL12’’ #XRF290PNROD12IN G. (1)-Top shade W22-3/4’’xH7’’ #XRF297PNSHA22.75IN H. (6)-Cylinder nut
- I. (1)-Bottom shade W22-3/4’’xH7’’ #XRF297PNBOTSHA22.75IN J. (1)-Metal ring
- K. (1)-Hex nut
- L. (1)-Nipple
- M. (1)-Glass diffuser #XRF297DIF22.125IN N. (1)-Plastic washer
- O. (1)-Bottom finial #XRF293PNFIN
















