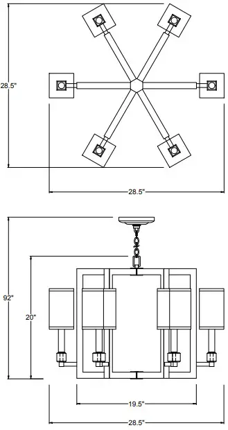
CRYSTORAMA 8886-AG Dixon 6 Light Chandelier Instruction Manual
WARNING:
Electrical Danger
Turn Power Off
All electrical components must be installed by a licensed electrician in accordance with the National Electric Code and the appropriate local electrical codes.
You will need 6-Cand.BULB 40 Watts Recommended 60 Watts Max Bulb not included USE LED BULBS FOR EXTENDED USE This fixture is DRY rated
How to Install

- Attach the mounting bar to the outlet box.
- Decide the preferred hanging height and choose the correct length of chain needed.
- Raise the fixture frame up over the ceiling and do the wire connection. Secure the canopy over the outlet box using the screw collar ring.
- Place the shade over the candle sleeve and install the bulb.
WARNING: This product can expose you to Lead, which is known to the State of California to cause cancer and/or birth defects or reproductive harm. For more information go to www.P65Warnings.ca.gov
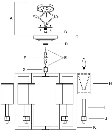
Part Number

- A. Mounting Hardware
- Mounting Plate
- Wire Nut
- B. (1)Screw Collar Loop
- C. (1)Canopy;Ø5.8″x1.2″h;XMO8884AGCAN5.8IND.(1)Collar Ring
- E. (2)Quick Link
- F. (1)Chain;72″L x ∅5.0mmT;XMO8884AGCHA5MMG.(1)Loop;XMO8884AGLOOP44MM
- H. (6)Fabric Shade;4″x4″x6.6″h;XMO8884SHA6.6IN
- I. (6)Socket
- J. (6)Crystal
- K. (1)Fixture frame


















