CRYSTORAMA HAY-1407-AG 16 Light Chandelier Instruction Manual
There is a safety cable supplied with this fixture, as it weighs over 50lbs. The fixture should be mounted to the ceiling independent of the outlet box.
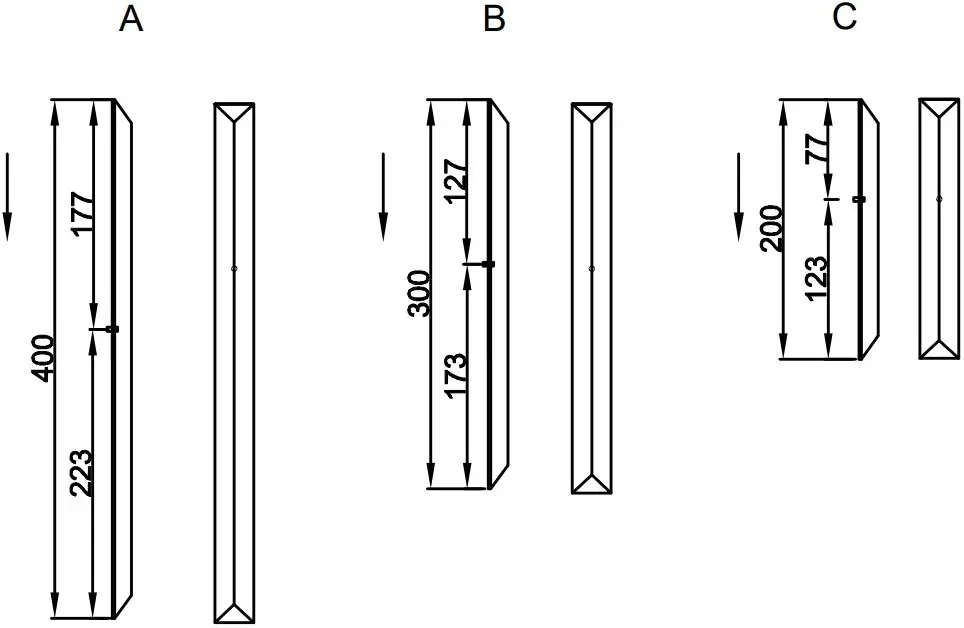
Short end above frame
All electrical components must be installed by a licensed electrician in accordance with the National Electric Code and the appropriate local electrical codes.
You will need 16-Candelabra Base Bulb 40 Watts Recommended 60 Watts Max
USE LED BULBS FOR EXTENDED USE
How to Install
- Do a complete inventory of all parts and components before you start installing.
- Screw the threaded pipe into the coupler and slide the metal tube over the threaded pipe. Slide check ring over the top of metal tube and secure with fixture loop.
- After safety attaching fixture into outlet box, install bulbs (not included) and proceed to connecting the power.
- When you begin to dress the fixture, start with crystal labeled (A).
- IMPORTANT: Apply crystal sets in alphabetical order
Installation of Safety Cable
- Pass the long threaded pipe on the hickey through the center of outlet box.Attach it to the ceiling joist and secure it with nuts.
- Feed wires and safety cable up through chain and the hole of screw collar loop. Have the wires and safety cable exit through the side of hickey.
- Feed safety cable through the cable lock and coil it around the hickey twice.Then feed the cable through the lock again and tighten it with lock screw.
- Continue to run safety cable through the top of outlet box and secure it to the ceiling joist.
Crystal Sets
A. 24Sets. (1)30x400mm
B. 40Sets. (1)30x300mm
C. 56Sets. (1)30x200mm
WARNING: This product can expose you to Lead, which is known to the State of California to cause cancer and/or birth defects or reproductive harm. For more information go to www.P65Warnings.ca.gov
Part Number

A. (2)-Wire Connector
B. (1)-Mounting Hardware
C. (1)-Canopy; w5″ x h1.25″ (XFB1407AGCAN5IN)
D. (1)-Collar Ring
E. (1)-Collar Loop
F. (1)-Chain; 72″, 5mm (XFB1405AGCHA5MM)
G. (1)-Steel Wire
H. (1)-Ground Wire
I. (1)-Fixture Loop
J. (1)-Metal Tube; 9.5″, 19MM thickness (XFB1407AGROD9.5IN)
K. (1)-Threaded Pipe; 9.5″, 16MM thickness (XFB1407AGSTEM9.5IN)
L. (1)-Check Ring
M. (1)-Metal Frame
PART BAGⅠ: Includes Parts A
PART BAGⅡ: Includes Parts B,D,E















