CRYSTORAMA 8683-MK-WH One Light Chandelier

WARNING
Electrical Danger | Turn Power Off |
All electrical components must be installed by a licensed electrician in accordance with the National Electric Code and the appropriate local electrical codes.

You will need 1-Medium Bulb 40 Watts Recommended 60 Watts Max Bulb not included
USE LED BULBS FOR EXTENDED USE This fixture is DRY rated.
DIMENSION

How to Install
- Decide the preferred hanging height and choose the chain needed.
- Fix the mounting plate to the ceiling and connect the canopy to the mounting plate.
- Install the recommended bulbs (not included).
WARNING: This product can expose you to Lead, which is known to the State of California to cause cancer and/or birth defects or reproductive harm. For more information go to www.P65Warnings.ca.gov
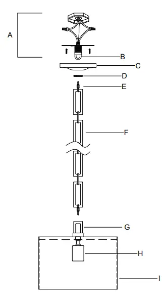
Part Number
Part Numbers
A. Mounting Hardware
(1) Mounting Plate
(2) Wire Nut
(2) Outlet Box Screws
B. (1) Screw Collar Loop
C. (1) Canopy;Ø5.5″x1″;XMO8680MKCAN5.5IN
D. (1) Collar Ring
E. (2) Quick Link
F. (1) Chain;72″Lx8.0mmT;XMO8680MKCHA8.0MMG. (1) Loop;XMO8680MKLOO
H. (1) Socket
I. (1) Metal Shade;Ø12″x8″h;XMO8683MKSHA12IN



















