CTA PAD-SCGS Compact Security Gooseneck Floor Stand

CONTENTS

INSTRUCTIONS
Attaching Foam Pad to Tablet Holder
Select the appropriate foam pad (N) according to the thickness of your tablet (or tablet in its case), then press adhesive side into center of tablet holder.
| Foam Pad Thickness | Tablet Thickness: |
| 1mm | 0.67-1.06in / 17-27mm |
| 5mm | 0.51-0.91in / 0.31-0.71in |
| 10mm | 0.31-0.71in / 8-18mm |
Installing the Swivel Casters
2a. Place a spring washer (I) over the screw bolt on each caster (E).
2b. Place the screw bolt from each wheel (E) through the metal base (C), then place a nut cover (H) over the top of each.
Screw down clockwise by hand, then use wrench (G) to tighten further.

Base Assembly and Connecting the Metal Cover

3a. Place the metal base of the base pole (B) with the higher piece on top of the cross base (C). Align the holes at the bottom of the pole (B) with the holes on the cross base (C)
Pole Assembly and Pole Nut Cross Base Sections (2)
3b. Insert a screw bolt (K) with a washer (L) into each of 4 holes. Place another washer (L) on the underside of each screw bolt. Grip the nut (M) on the underside with one hand, and use the other tighten each screw with the allen key tool (J). Repeat for all four screw bolts.
3c. Rotate the grip counter clockwise to loosen completely and remove from the top of the pole.
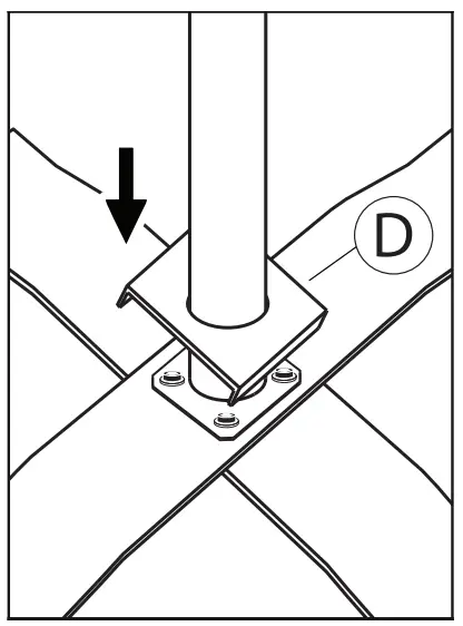
3d. Place the square metal cover (D) over the top of the pole (B) and slide down to the stand base.
3e. Place the grip back over the stand pole (B) and rotate clockwise until securely tightened.
Connecting Gooseneck Holder & Battery Case
4a. Place battery case (F) over top of metal connection.
Note: if the Y screw is already in, unscrew before attaching the gooseneck.
4b. Screw the gooseneck onto the metal connection of the pole by turning clockwise. Be sure that the battery case is on the opposite side of the pole as the Y screw.
4c. Turn the Y screw clockwise to tighten the connection.
Installing Tablet Device
5a. Insert key (O) and set position to unlock. Remove key, then slide holder (A) open.
5b. Load tablet corner first into one end. Insert key and set to lock, the slide holder shut until secured. Remove key
Adjusting the Floor Stand
Rotate plastic grip to loosen, then adjust pole to desired height. Rotate back to tighten.
Adjust the gooseneck to desired position.
Tighten and loosen the holder connection screw to adjust ease of rotation.
Customer Support
36 Taaffe Place Brooklyn, NY 11205
888-733-4448


















