CTA PAD-PARAWPCL Universal Digital Password Locking Security Wall Mount Enclosure

CONTENTS

INSTALLATION
- When Mounting to Solid Wall
Align the enclosure to the wall and mark off the holes with a pencil (not included). Use a drill (not included) and predrill locations. Insert (4) anchors (E) as illustrated into the wall drilled holes. Then align VESA holes of enclosure and rotate in screws(G) until securely fastened.
- When Mounting to Wall Studs
Identify the wall studs behind the wall. Align the inner VESA holes as illustrated. Then using a screwdriver(not included}, rotate in the (4) screws(G) until securely fastened.
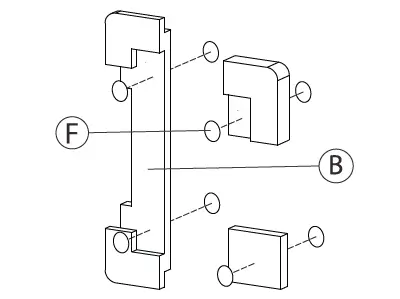
- Setting up the Foam Adapters
Identify the double sided adhesives (F). Peel away the backing on both sides. Adhesive four of them behind the foam pieces (BJ as illustrated. They are to adhere the foam to the enclosure. Peel away the back on the next four and place them on top of the foam pieces as illustrated. These are to attach the foam to the tablets and ensure security.
- Inserting Tablet into Enclosure
With the enclosure open, insert tablet into the foam adapters (BJ. Make sure the adhesives have been placed ahead of time or tablet will fall out. Plug your tablet into any cables/wires you have routed to the enclosure. After tablet is secure, close the top and lock into place.
- Removing Enclosure Back Opening Covers
When installing device into the enclosure, identify where the camera is. Then simply remove and pop out the cover prior to mounting or setting up tablet to properly expose camera.
- When Attaching Enclosure to a VESA Compatible Item
Align enclosure holes to VESA plate holes. Screw in the screws (DJ above using provide al/en key (HJ while holding hex nut tool (CJ from behind with fingers.
- Charge the Lock
Identify the lock chart port on the bottom side as illustrated. Plug in provided charging cable from one end to another to properly charge digital lock.
- Locking Enclosure

How to unlock
- Press default password “123”, press “OK”.
- Green light on about 5 seconds and you hear a long beep means verification passed and it is unlocked. Please turn the lock to unlock within 5 seconds.
Remark: If you entered wrong password 3 times the system will be locked for 1 minute.
Change Administrator Password
The password should be 3-9 digits, each digits can be any number during 1-4.
- Press “1 “, Press “OK”, when the blue light on and there is a beep, means into setting mode.
- Verification:
Enter default password “123”, press “OK” to confirm.
Blue light flashes and beeps 3 times means verification passed. - When the blue light flashes
Enter new password and press “OK” to confirm.
Enter new password again and press “OK” to confirm.
When the green light on and a long beep heard means new password setting is done. - Use new password to unlock to test.
Remark: Please do remember your new Administrator Password. If forgot we don’t have other way to get it back and without it factory setting can’t be done too.
Create User Password
The password should be 3-9 digits, each digit can be any number during 1-4. You can add up to 20 user passwords.
- Press “2”, Press “OK”, when the blue light on and there is a beep, means into setting mode.
- Verification:
Enter administrator password, press “OK” to confirm.
Blue light flashes and beeps 3 times means verification passed. - When the blue light flashes
Enter new password and press “OK” to confirm.
Enter new password again and press “OK” to confirm.
When the green light on and a long beep heard means new password setting is done. - Use new password to unlock to test.
Restore Factory Setting
- Press “OK” for about 15 seconds until the red light on (please ignore the blue light).
- Verification:
Enter Administrator Password and press “OK” to confirm.
When the light flashes and a long beep heard means verification passed.
When complete, all the user’s passwords and temporary passwords are invalid and administrator password back to “123” again.
Power Instruction
- Low power warning: Red light flashes and beeps 5 times. Please charge the lock.
- You can unlock when charging by USB cable.
36 Taaffe Place Brooklyn, NY 11205
[email protected]
778-991-0169
www.ctadigital.com



























