CRYSTORAMA HAY-1405-PN 12 Light Chandelier Instruction Manual

ASSEMBLY INSTRUCTION MODEL #HAY-1405-PN

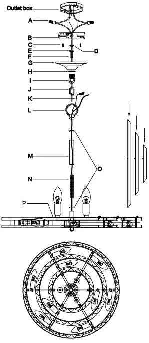
DETAILED ILLUSTRATION


All electrical components must be installed by a licensed electrician in accordance with the National
Electric Code and the appropriate local electrical codes![]()

You will need 12-Candelabra Base Bulb 40 Watts Recommended 60 Watts Max
USE LED BULBS FOR EXTENDED USE
This fixture is Dry rated
How to Install
- Do a complete inventory of all parts and components before you start installing.
- Slide one check ring over the coupler on top of frame.
Screw the threaded pipe into the coupler and slide the metal tube over the threaded pipe. Slide another check ring over the top of metal tube and secure with fixture loop. - After safety attaching fixture into outlet box, install bulbs (not included) and proceed to connecting the power.
- When you begin to dress the fixture, start with crystal labeled (A).
- IMPORTANT: Apply crystal sets in alphabetical order
Crystal Sets
A. 18Sets. (1)30x400mm
B. 30Sets. (1)30x300mm
C. 42Sets. (1)30x200mm
PART NUMBER MODEL #HAY-1405-PN

Part Number
PART NUMBER MODEL #HAY-1405-PN
LIGHTING THE WAY FOR SIXTY YEARS
Part Numbers
B. (1)-Mounting Plate
C. (2)-Outlet Box Screws
D. (1)-Lock washer
E. (1)-Hex Nut
F. (1)-Nipple
G. (1)-Canopy; w5″ x h1.25″ (XFB1405PNCAN5IN)
H. (1)-Collar Ring
I. (1)-Collar Loop
J. (1)-Chain; 72″, 5mm (XFB1405PNCHA5MM)
K. (1)-Ground Wire
L. (1)-Fixture Loop
M. (1)-Metal Tube; 8.5″, 16MM thickness (XFB1405PNROD8.5IN)
A. (2)-Wire Connector
N. (1)-Threaded Pipe; 9.5″, 12MM thickness (XFB1405PNSTEM9.5IN)
O. (2)-Check Ring
P. (1)-Frame
PART BAGⅠ: Includes Parts A, C
PART BAG Ⅱ: Includes Parts B, D, E, F, H, I












