ASSEMBLY INSTRUCTION MODEL#295-DB
295-DB Grayson Three Light Chandelier
![]() | ![]() |
HOW TO REPLACE BULB:
FROM THE TOP OPENING OF SHADE, REPLACE PREVIOUS BULB W/ NEW BULB.
(IF REPLACED FROM THE BOTTOM, YOU NEED TO REMOVE THE BOTTOM FINIAL AND DIFFUSER TO REPLACE THE BULB.)
All electrical components must be installed by a licensed electrician in accordance with the National Electric Code and the appropriate local electrical codes.![]()
You will need 3-Medium Base Bulb 60 Watts Recommended 100 Watts Max. USE LED BULBS FOR EXTENDED USE This fixture is Dry rated
How to install
- Separate the mounting plate from the canopy kit by removing the screws.
- Install the mounting plate to the outlet box using two outlet box screws.
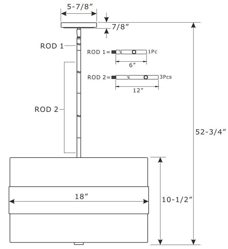
- Determine the preferred hanging height and adjust the required rods.
- Feed the wires through the rods and connect them together.
- Slip canopy kit along wire and thread it into the top of the rod assembly.
- Install canopy onto the mounting plate, and secure with the mounting screws.
- Install the bulb(not included) into the socket.
- Thread the nipple onto the coupling and adjust the length of nipple to fit with the glass. Tighten it with hex nut.
- Slide the glass diffuser and the plastic washer over the nipple, then secure with the bottom finial.

WARNING: This product can expose you to Lead which is known to the state of California to cause cancer and/or birth defects or reproductive harm. For more information go to www.P65Warnings.ca.gov
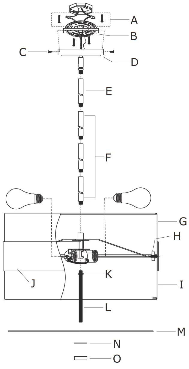
Part Number
Part Numbers
A. (1)-Mounting hardware
B. (1)-Mounting plate
C. (2)-mounting screw
D. (1)-Canopy kit W5-7/8’’xH7/8’’ #XRF290DBCAN5.875IN
E. (1)-Rod D5/8’’xL6’’ #XRF290DBROD6IN
F. (3)-Rod D5/8’’xL12’’ #XRF290DBROD12IN
G. (1)-Top shade W17-3/4’’xH5’’ #XRF295DBSHA17.75IN
H. (6)-Cylinder nut
I. (1)-Bottom shade W17-3/4’’xH5’’ #XRF295DBBOTSHA17.75IN
J. (1)-Metal ring
K. (1)-Hex nut
L. (1)-Nipple
M. (1)-Glass diffuser #XRF295DIF17.25IN
N. (1)-Plastic washer
O. (1)-Bottom finial #XRF293DBFIN




















