LIGHTING THE WAY FOR SIXTY YEARS
MODEL #8105-PN_CEILING
ASSEMBLY INSTRUCTION
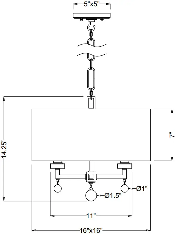
8105-PN-CEILING Paxton Four Light Ceiling Mount
| For Hanging | For Ceiling |
![]() | ![]() |

All electrical components must be installed by a licensed electrician in accordance with the National Electric Code and the appropriate local electrical codes.

You will need 4-Candelabra Bulb 60 watts Max Bulb not included USE LED BULBS FOR EXTENDED USE This fixture is DRY rated
How to Install
- Insert the shade spoke in between top and bottom knurled nut.
- Secure the shade by twisting the top knurled nut.
- Slide the crystal bobeche over the socket.
- Install the recommended bulbs into each socket.
- Screw the crystal ball into the bottom frame.
For Semi-flush
- Hook the canopy onto the loop on top of the fixture.
- Raise the fixture up to the ceiling and connect the wires.
- Secure the canopy onto the outlet box by ball nuts.
WARNING: This product can expose you to Lead, which is known to the State of California to cause cancer and/or birth defects or reproductive harm. For more information go to www.P65Warnings.ca.gov
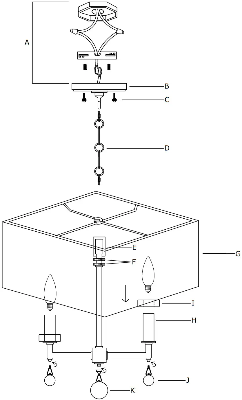
Part Number

Part Numbers
A. Mounting Hardware
- Mounting Plate
- Mounting Screws
- Wire Nut
B. (1) Canopy; 5″x5″ x 0.7″h; XMO8105 PNCAN 5 IN
C. (2) Ball nut
D. (1) Chain; 72” L x Ø4.0mmT; XM O8105 PNCHA 4MM
E. (1) Fixture Loop
F. (2) Knurled Nut
G. (1) Fabric Shade; 16” x16” x7” h; XMO8105SHA16IN
H. (4) Socket
I. (4) Crystal Bobeche
J. (4) Small Crystal ball
K. (1) Big crystal ball


















