CRYSTORAMA 710-CH-CL-S Two Light Ceiling Mount Instruction Manual
HOW TO INSTALL:
Place the fixture parts on a softcloth-covered platform beforeinstallation of fixture.Crystorama.com
- Install the mounting bar onto theoutlet box.
- Raise the Frame up over the threaded nippleon the mounting bar.After the wire connection is completed,Secure with the coupling.
- Screw the center stem onto the couplingand secure with the nut.
- Adjust the hex nut along the bottom end ofthe center stem to allow the vase cap tostay in the correct position.Secure the cap with the finial.
- Dress the crystals as illustrated.

WARNING:
- Electrical Danger

- Turn Power Off

All electrical components must beinstalled by a licensed electricianin accordance with the NationalElectric Code and the appropriate local electrical codes.

You will need 2- Candelabra Base Bulb40 Watts recommended 60 Watts Max.USE LED BULBS FOR EXTENDED USE
Part Number

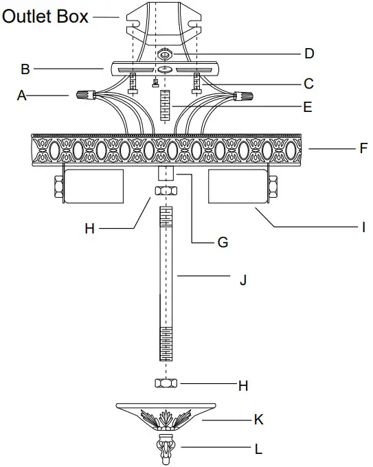
- A. (2)-Wire Connector
- B. (1)-Mounting bar
- C. (2)-Screw
- D. (1)-Hex nut
- E. (1)-Threaded nipple
- F. (1)-Frame ; Ø10″ ; 25 pin holes ; with inner plate.
- G. (1)-Coupling
- H. (2)-Hex Nut
- I. (2)-Socket
- J. (1)-Center stem ; H 4 1/2″-XSN708CHSTEM4.5IN
- K. (1)-Vase Cap ; Ø3″ ; 25 pin holes-XSN710CHCAP3IN
- L. (1)-Finial-XSN708CHFIN






















