Crystorama 710-EB-CL-SAQ Two Light Ceiling Mount

MODEL #710-EB-CL-SAQ
ASSEMBLY INSTRUCTION

Crystal Sets
A. 25Sets.
(1)28mm + (1)26mm + (1)20mm + (1)16mm + (1)14mm
WARNING

All electrical components must be installed by a licensed electrician in accordance with the National Electric Code and the appropriate local electrical codes.
You will need 2- Candelabra Base Bulb 40 Watts recommended 60 Watts Max USE LED BULBS FOR EXTENDED USE
The fixture is Dry rated
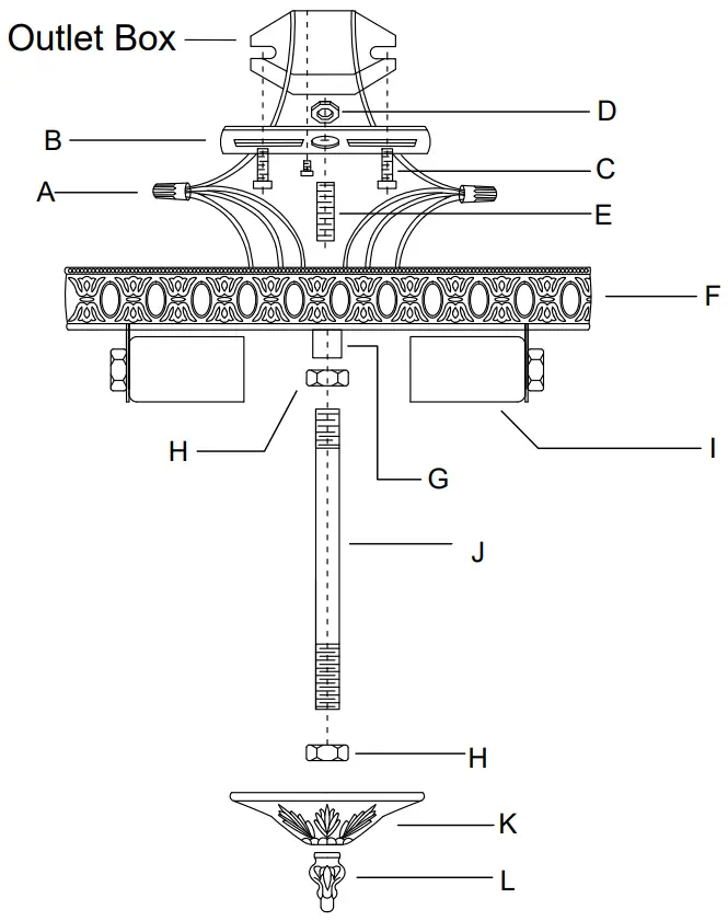
HOW TO INSTALL:
Place the fixture parts on a soft cloth-covered platform before installation of fixture.
- Install the mounting bar onto the outlet box.
- Raise the Frame up over the threaded nippleon the mounting bar.
After the wire connection is completed, Secure with the coupling. - Screw the center stem onto the coupling and secure with the nut.
- Adjust the hex nut along the bottom end of the center stem to allow the vase cap to stay in the correct position.
Secure the cap with the finial. - Dress the crystals as illustrated.
WARNING: This product can expose you to Lead, which is known to the State of California to cause cancer and/or birth defects or reproductive harm. For more information go to www.p65warnings.ca.gov
PART NUMBER
A. (2)-Wire Connector
B. (1 )-Mounting bar
C. (2)-Screw
D. (1 )-Hex nut
E. (1 )-Threaded nipple
F. (1 )-Frame ; 01 O” ; 25 pin holes ; with inner plate.
G. (1 )-Coupling
H. (2)-Hex Nut
I. (2)-Socket
J. (1 )-Center stem ; H 4 1/2″-XSN7O8EBSTEM4.5IN
K. (1 )-Vase Cap; 03″; 25 pin holes-XSN71OEBCAP3IN
L. (1 )-Finial-XSN7O8EBFIN






















