CRYSTORAMA 718-CH-CL-SAQ Four Light Ceiling Mount Instruction Manual
Crystal Sets

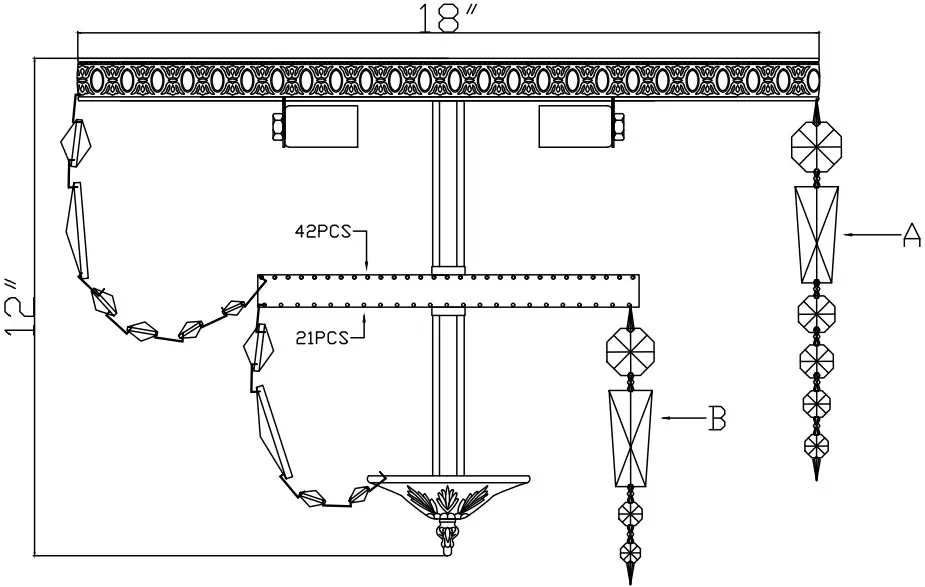
A. 42Sets. (1)30mm + (1)58mm Baguette + (1)22mm +(1)20mm + (1)16mm + (1)14mm
B. 21Sets. (1)28mm + (1)58mm Baguette + (1)16mm +(1)14mm
WARNING
Electrical Danger
Turn Power Off
All electrical components must beinstalled by a licensed electricianin accordance with the NationalElectric Code and the appropriatelocal electrical codes

You will need 4- Candelabra Base Bulb40 Watts recommended 60 Watts Max.USE LED BULBS FOR EXTENDED USE
HOW TO INSTALL:
Place the fixture parts on a softcloth-covered platform beforeinstallation of fixture
- Install the mounting bar onto theoutlet box.
- Raise the Frame up over the threaded nippleon the mounting bar.After the wire connection is completed,Secure with the coupling.
- Screw the stem onto the couplingon the frame and secure with a hex nut.Slide the smaller tube, check ring ,metal ring, check ring, lager tubeand check ring in that order over thestem.Secure with a hex nut.
- Place the vase cap over the end of thestem and secure with the finial.
- Dress the crystals as illustrated.
Part Number

- A. (2)-Wire Connector
- B. (1)-Mounting bar
- C. (2)-Screw
- D. (1)-Hex nut
- E. (1)-Thread nipple
- F. (1)-Frame ; Ø18″ ; 42 pin holes ; with inner plate.
- G. (4)-Check ring
- H. (1)-Coupling
- I.(2)-Hex Nut
- J. (4)-Socket
- K. (1)-Stem ; H10″-XSN718CHSSTEM10IN
- L. (1)-Tube ; H4 1/8″-XSN718CHSTEM4.125IN
- M. (1)-Tube ; H5″-XSN718CHSTEM5IN
- N. (1)-Metal ring ; Ø9″ ; 42 pin holes for up side ; 21 pin holes for lower side.
- O. (1)-Vase Cap ; Ø3″ ; 21 pin holes-XSN718CHCAP
- P. (1)-Finial-XSN718CHFIN




















