SIGNATURE HARDWARE 953131 Gardenville Flush Mount Light

Product Information
GARDENVILLE (SKU: 953131)
GARDENVILLE is an electric fixture that comes with a mounting bar (B), canopy (A), glass shade (H), metal washer (I), nut (J),cap (K), and finial (L). It requires a light bulb (A19 100 watt maximum) and tools such as a wire stripper, step ladder, Phillips screwdriver, flathead screwdriver, and wire cutters for installation. The product is designed for indoor use only and should be installed by a professional who is familiar with electric fixtures.
Installation Instructions
- Unpack and inspect the product for any shipping damage. If any damage is found, contact Customer Relations team via live chat at www.signaturehardware.com or by emailing [email protected].
- Ensure that you have all the required materials mentioned in the manual before beginning the installation.
- Thread the mounting screws (C) into the matching holes in the mounting bar (B).
- Connect wires according to your local electrical code for approved grounding methods. Tuck them carefully inside outlet box.
Raise the canopy (D) allowing for the mounting screws (C) to protrude through the key slots. Rotate the canopy (A) clockwise until the mounting screws (C) are in the narrow part of the key slots, and tighten with a screwdriver. - Slide the glass shade (H) and metal washer (I) onto the nipple (G) then secure with the nut (J).
- Slide the cap (K) onto the nipple (G) and secure with the finial (L).
- Install a light bulb (A19 100 watt maximum) before turning on the fixture.
Note: If you have electrical questions, consult your local electrical code for approved grounding methods.
Additional Information
If you need further help, check out our Help Center at www.signaturehardware.com for product and warranty information, or contact us through live chat or by emailing [email protected].
Observe all local plumbing and building codes during installation. Signature Hardware accepts no liability for any damage to the faucet, plumbing, sink, counter top, or for personal injury during installation.
The product manual was revised on Date (12/10/2021) with the codes: PHFL4042.
If you face any issues while installing or using the product, please contact Customer Relations team via live chat or by emailing [email protected] for assistance.
BEFORE YOU BEGIN GETTING STARTED
We recommend consulting a professional if you are unfamiliar with installing electric fixtures. Signature Hardware accepts no liability for any damage to the faucet, plumbing, sink, counter top, or for personal injury during installation.
Observe all local plumbing and building codes.
Unpack and inspect the product for shipping damage.
If any damage is found, contact our Customer Relations team via live chat at www.signaturehardware.com or by emailing [email protected].
FOR YOUR SAFETY
WARNING: Be sure the electricity to the wires you are working on is shut off, either the fuse is removed or the circuit breaker is shut off. You don’t need special tools to install this fixture. Be sure to follow the steps in the order given. Under no circumstances should a fixture be hung on house electrical wires, nor should a swag type fixture be installed on a ceiling that contains a radiant-type heating system. Read instructions carefully, if you are unclear as to how to proceed, consult a qualified electrician.
GETTING STARTED
Ensure that you have gathered all the required materials that are needed for the installation.
TOOLS AND MATERIALS

INSTALLATION
- Thread the mounting screws (C) into the matching holes in the mounting bar (B).

- Secure mounting bar (B) to the outlet box with outlet box screws (A).
- Connect the white wire from the fixture to the white wire from the outlet box and the black wire from the fixture to the black wire from the outlet box. Cover the two wire connections using the two provided wire connectors. Wrap the two wire connections with electrical tape for a more secure connection. Attach the grounding wire connections with electrical tape for a more secure connection. Connect the copper ground wires from the fixture and from the outlet box to the ground screw on the mounting bar.
Note: If you have electrical questions, consult your local electrical code for approved grounding methods. - After wires are connected, tuck them carefully inside outlet box. Raise the canopy (D) allowing for the mounting screws (C) to protrude through The key slots. Rotate the canopy (A) clockwise until the mounting screws (C) are in the narrow part of the key slots, and tighten with a screwdriver.

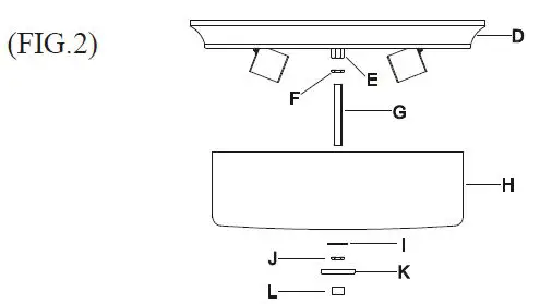
- Thread the nut (F) onto the nipple (G) and thread the nipple (G) into the coupling (E).
- Install light bulbs (Not provided). Please do not exceed the maximum wattage capacity recommended on the socket. We recommend the use of a clear light bulb.
- Slide the glass (H) and the metal washer (I) onto the nipple (G) then secure with the nut (J).
- Slide the cap (K) onto the nipple (G) and secure with the finial (L).
ADDITIONAL QUESTIONS?
Still need help? Check out our Help Center at www.signaturehardware.com for product and warranty information, or contact us through live chat or by emailing [email protected].
1.855.715.1800
signaturehardware.com


















