SIGNATURE HARDWARE 949644 Ocana Flush Mount Light

BEFORE YOU BEGIN
We recommend consulting a professional if you are unfamiliar with installing electric fixtures. Signature Hardware accepts no liability for any damage to the faucet, plumbing, sink, counter top, or for personal injury during installation. Observe all local plumbing and building codes. Unpack and inspect the product for shipping damage. If any damage is found, contact our Customer Relations team via live chat at www.signaturehardware.com or by emailing [email protected].
GETTING STARTED
Ensure that you have gathered all the required materials that are needed for the installation.
ADDITIONAL QUESTIONS?
Still need help? Check out our Help Center at www.signaturehardware.com for product and warranty information, or contact us through live chat or by emailing [email protected].
FLUSH MOUNT LIGHT

WARNING: Be sure the electricity to the wires you are working on is shut off, either the fuse is removed or the circuit breaker is shut off. You don’t need special tools to install this fixture. Be sure to follow the steps in the order given. Under no circumstances should a fixture be hung on house electrical wires, nor should a swag type fixture be installed on a ceiling which contains a radiant type heating system. Read instructions carefully, if you are unclear as to how to proceed, consult a qualified electircian.
CARE INSTRUCTIONS
To clean, wipe fixture with a soft cloth. Clean glass with a mild soap. Do not use abrasive materials such as scouring pads or powders, steel wool or abrasive paper.
TOOLS REQUIRED FOR ASSEMBLY & INSTALLATION (not included)
- Safety goggle

- Step ladder

- Wire strippers

- Phillips screwdriver

- Electrical tape

- Wire cutters

- Flathead screwdriver

- Light Bulb (60 watt maximum)

RECOMMENDED TOOLS AND ACCESSORIES
- Mounting Screws (2pcs)

- Outlet Box Screws (2pcs)

- Mounting plate (1pc)

- Ball Nut (2pcs)

SAVE THIS MANUAL: RETAIN FOR CONSUMER ’ S USE. READ THESE INSTRUCTIONS COMPLETELY BEFORE INSTALLING THE PRODUCT: FOR PRODUCT OR INSTALLATION QUESTIONS PLEASE CALL CUSTOMER SERVICE AT 1-800-221-3379
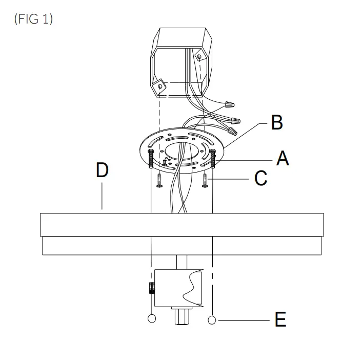
INSTALLATION (FIG 1)

- Thread the mounting screws (A) into the matching holes in the circular strap (B).
- Secure circular strap (B) to the outlet box with outlet box screws (C).
- Connect the white wire from the fixture to the white wire from the outlet box and the black wire from the fixture to the black wire from the outlet box. Cover the two wire connections using the two provided wire connectors. Wrap the two wire connections with electrical tape for a more secure connection. Connect the copper ground wires from the fixture and from the outlet box to the ground screw on the circular strap.
Note: If you have electrical questions consult your local electrical code for approved grounding methods. - After wires are connected, tuck them carefully inside outlet box. Raise the front plate (D) allowing for the mounting screws (A) to protrude through the holes on front plate (D), and secure with the ball nuts (E).
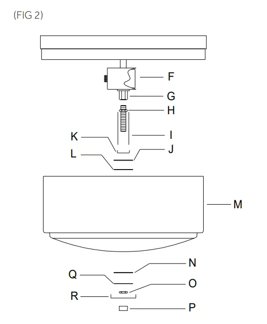
INSTALLATION (FIG 2)

- Install light bulbs (not provided). Please do not exceed the maximum wattage capacity recommended on the socket (F). We recommend the use of a clear light bulb.
- Thread the nipple (H) into the coupling (G) and secure with hex nut.
- . Put the tube (I), cover (K), flat washer (J), plastic washer (L), glass shade (M), plastic washer (N), flat washer (Q) over the nipple (H) in order and secure with hex nut (O), then thread the wheel (P) and cover (R) onto the nipple (H) till snug.


















