SIGNATURE HARDWARE 440806 1-Light 14.875-Inch Brushed Nickel Incandescent Flush Mount Light

Product Information
HIGHFIELD SKU: 440806
The HIGHFIELD SKU: 440806 is an electric fixture that can be installed in your home or office. It is important to follow all local plumbing and building codes when installing this product.
This fixture requires a light bulb with a maximum wattage of A19 100 watts. The package includes mounting screws, a circular strap,outlet box screws, a front plate, ball nuts, a nipple, a coupling,a tube, a tube cover, a rubber washer, a glass diffuser, a metal washer, a hex nut, and a decorative cap.
Product Usage Instructions
- Before you begin installation, ensure that the electricity to the wires you are working on is shut off. This can be done by removing the fuse or shutting off the circuit breaker.
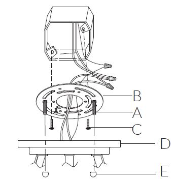
- Thread the mounting screws (A) into the matching holes in the circular strap (B).
- Secure circular strap (B) to the outlet box with outlet box screws (C).
- After connecting the wires, tuck them carefully inside the outlet box.
- Raise the front plate (D) allowing for the mounting screws (A) to protrude through the holes on front plate (D), and secure with the ball nuts (E).
- Thread the nipple (H) into the coupling (G) and secure with hex nut.
- Assemble the tube (I), tube cover (J), rubber washer (K), glass diffuser (L), metal washer (M) over the nipple (H) in order, then secure with hex nut (N).
- Assemble the decorative cap (O) onto the nipple (H).
- Install a light bulb with a maximum wattage of A19 100 watts.
It is important to follow these instructions carefully. If you are unclear as to how to proceed, consult a qualified electrician.
Additionally, always wear safety glasses when installing electrical fixtures and use an appropriate step ladder or other sturdy surfaces to reach the installation location.
BEFORE YOU BEGIN
We recommend consulting a professional if you are unfamiliar with installing electric fixtures. Signature Hardware accepts no liability for any damage to the faucet, plumbing, sink, counter top, or for personal injury during installation.
Observe all local plumbing and building codes. Unpack and inspect the product for shipping damage. If any damage is found, contact our Customer Relations team via live chat at www.signaturehard-ware.com or by emailing [email protected].
FOR YOUR SAFETY
WARNING: Be sure the electricity to the wires you are working on is shut off, either the fuse is removed or the circuit breaker is shut off. You don’t need special tools to install this fixture. Be sure to follow the steps in the order given. Under no circumstances should a fixture be hung on house electrical wires, nor should a swag type fixture be installed on a ceiling which contains a radiant type heating system. Read instructions carefully, if you are unclear as to how to proceed, consult a qualified electrician.
TOOLS AND MATERIALS

INSTALLATION
FIG .1

- Thread the mounting screws (A) into the matching holes in the circular strap (B).
- Fixez le disque de fixation (B) sur la boîte à prises avec les vis de boîte à prises (C).
- Connect the white wire from the fixture to the white wire from the outlet box and the black wire from the fixture to the black wire from the outlet box. Cover the two wire connections using the two provided wire connectors. Wrap the two wire connections with electrical tape for a more secure connection. Connect the copper ground wires from the fixture and from the outlet box to the ground screw on the circular strap.
Note: If you have electrical questions consult your local electrical code for approved grounding methods. - After wires are connected, tuck them carefully inside outlet box. Raise the front plate (D) allowing for the mounting screws (A) to protrude through the holes on front plate (D), and secure with the ball nuts (E).
FIG .2

- Thread the nipple (H) into the coupling (G) and secure with hex nut.
- Assemble the tube (I), tube cover (J), rubber washer (K), glass diffuser (L), metal washer (M) over the nipple
- Assemble the decorative cap (O) onto the nipple (H).
- Install light bulbs (not provided). Please do not exceed the maximum wattage capacity recommended on the socket (F). We recommend the use of a clear light bulb.
1.855.715.1800
signaturehardware.com


















