Uolfin 5069554 12.5 Inch Incandescent Semi-flush Mount Light

Item Number: 5069554
WARNING (To reduce the risk of fire, electric shock, or personal injury):
- We suggest installation by a licensed electrician.
- Please read the instruction carefully and save it as you may need it at a later time.
- Before you start, NEVER attempt any work without shutting off the electricity until the work is done.
- Go to the main fuse, or circuit breaker, box in your home. Place the main power switch in the OFF position.
- Place the wall switch in the OFF position.
- Mounting surface should be clean, dry, flat, strong enough and 1/4 larger than the canopy on all sides. Any gaps between the mounting surface and canopy exceeding 3/16 should be corrected as required.
- Make sure that the ceiling or wall can stand the weight of the lamp before installation.
- Make sure the voltage you are using is 120V. The maximum wattage is 40W per bulb.
- Keep the lamp away from acidic and alkaline substances in case of damaging the surface of the lamp.
- When replacing bulbs, you should turn off or unplug the lamp and you must wait until it is cool as bulbs get hot quickly.
- The safety instructions appearing in this manual are not meant to cover all possible conditions that may occur. It must be understood that common sense, caution and care must be used with any electrical products.
TOOLS REQUIRED (NOT INCLUDED)
Before starting assembly and installation please prepare the needed tools as below picture

PARTS TYPE & QTY INCLUDING

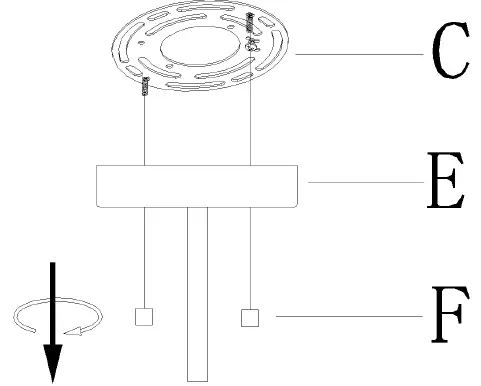
- (C) Mounting plate (1)
- (D) Green ground screw (1)
- (E) Canopy (1)
- (F) Knob nut (2)
- (G) Tube (1)
- (H) Nut (8)
- (I) Upper frame (1)
- (J) Stem (1)
- (K) Cloth lampshade (4)
- (L) Threaded pipe (4)
- (M) Socket (4)
- (N) Lower frame (1)
- (O) Sockets assembly (1)
ACCESSORIES & QTY ENCLOSED
- (A) Plastic wire connector (3)
- (B) Mounting screw (2)
ASSEMBLY & INSTALLATION INSTRUCTIONS
- Carefully remove the fixture from the carton and check that all parts and accessories are included as shown in the above illustration.
- Unscrew knob nuts (F) from canopy (E), then gently remove mounting plate (C) from canopy (E) and set them aside for later installation.

- Secure upper frame (I) and lower frame (N) onto threaded pipes (L) with nuts (H).
- Screw stem (J) onto the top of sockets assembly (O). Pass the fixture wires through upper frame (I), tube (G) and canopy (E), then screw tube (G) onto stem (J) to secure upper frame (I).

- Turn off power
Before you start the installation, NEVER attempt any work without shutting off the electricity until the work is done.- A) Go to the main fuse, or circuit breaker, box in your home. Place the main power switch in the “OFF” position.
- B) Place the wall switch in the “OFF” position.
- Carefully pass the supply wires through mounting plate (C). Secure mounting plate (C) to the outlet box with mounting screws (B).

- Make wire connections
Connect wires as below wires connection shown. PLEASE NOTE THAT GROUND WIRE IS BARE COPPER WIRE, NEVER CONNECT OTHER WIRES TO GROUND WIRES.
- Raise canopy (E) over the outlet box. Align canopy (E) with the preÂassembled mounting screws, then secure canopy (E) with the previously removed knob nuts (F) till snug.
Note: canopy (E) should be snug against the ceiling and knob nuts (F). If not, adjust the threaded length on mounting plate assembly (C) by unscrewing the pre-assembled hex nuts and then screwing the pre-assembled screws in or out of mounting plate (C) until the secure length is achieved. Tighten the hex nuts and back to step 8.
- Install bulbs (not included) (Please do not exceed the maximum wattage recommended on the socket.)2) Carefully slide two iron wires of cloth lampshades (K) along bulbs, so cloth lampshades (K) hold bulbs properly by iron wires.
- Check everything is already installed properly, then you could turn on the light. Enjoy
ORDERING PARTS
Keep this sheet for future reference in case you need to order replacement parts. All parts for this fixture can be ordered from the place of purchase. Be sure to use exact wording from illustration when ordering parts.
CLEANING
To clean, wipe the fixture with a soft cloth. Do not use abrasive materials such as scouring pads or powders, steel wool or abrasive paper.























