Tribesigns TH-SF0202 Walnut Incandescent Semi-flush Mount Light

IMPORTANT SAFETY INSTRUCTIONS SAVE THESE INSTRUCTIONS
SAFETY PRECAUTIONS:
- TURN OFF ELECTRICAL POWER BEFORE STARTING INSTALLATION OF LIGHT FIXTURE.
- WIRING SUPPLIES AS REQUIRED BY LOCAL ELECTRICAL CODE.
- THIS PRODUCT MUST BE INSTALLED IN ACCORDANCE WITH THE APPLICABLE INSTALLATION CODE BY A PERSON FAMILIAR WITH THE CONSTRUCTION AND OPERATION OF THE PRODUCT AND THE HAZARDS INVOLVED.
- TO CLEAN THE FIXTURE, TURN OFF THE POWER, WAIT FOR IT TO COOL, AND WIPE THE FIXTURE WITH A CLEAN, SOFT CLOTH. NEVER SPRAY CLEANER DIRECTLY ONTO THE FIXTURE.
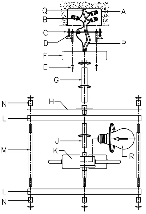
NOTE: Product may not look exactly as shown in figures.
CAUTION: Inspect the wire insulation for any cuts, abrasions, or exposed copper that may have resulted during shipping. If there is a defect in the wire, do not attempt installation.
- This fixture has been rated for up to 60-watt maximum TYPE A bulbs or 13-watt compact fluorescent light bulbs or 9-watt LED bulbs . To avoid the risk of fire, do not exceed the recommended wattage.
- This product is safety listed for dry locations.
- This product may be dimmed with a standard incandescent dimmer.
Assembly Steps

Part Included

| Code | Part Description | QTY |
| A | Junction Box | 0 |
| C | Single Mounting Bracket | 1 |
| E | Nut | 2 |
| F | Canopy | 1 |
| G | Ø5 8″-3.9″ rods | 1 |
| H | Bracked | 1 |
| J | Ø1/2″-2.8″ rods | 1 |
| K | Lamp holder | 1 |
| L | Pipe ring | 2 |
| M | Ø3/8″-6″ rods | 4 |
| N | Nut | 8 |
| P | Fixfure Wires | 1 |
| Q | Leading Wires | 0 |
| R | Bulb | 0 |

Trouble Shooting



















