lowes A04915 3-Light 13-Inch Wood Brown and Brushed Silver LED Flush Mount Light

INSTALLATION
Item Number: A04915
WARNING (To reduce the risk of fire, electric shock, or personal injury):
- We suggest installation by a licensed electrician.
- Please read the instruction carefully and save them as you may need them at a later time.
- Before you start, NEVER attempt any work without shutting off the electricity until the work is done.
- Go to the main fuse, or circuit breaker, box in your home.
- Place the main power switch in the “OFF” position.
- Place the wall switch in the “OFF” position.
- The mounting surface should be clean, dry, flat, strong enough and 1/4” larger than the canopy on all sides. Any gaps between the mounting surface and canopy exceeding 3/16” should be corrected as required.
- Make sure that the ceiling or wall can stand the weight of the lamp before installation.
- Make sure the voltage you are using is 120V. The maximum wattage is Type B 40W per bulb.
- Keep the lamp away from acidic and alkaline substances in case of damaging the surface of the lamp.
- When replacing bulbs, you should turn off or unplug the lamp and you must wait until it is cool as bulbs get hot quickly.
- The safety instructions appearing in this manual are not meant to cover all possible conditions that may occur. It must be understood that common sense, caution and care must be used with any electrical products.
IMAGE FOR FINISHED PRODUCT
TOOLS REQUIRED
(NOT INCLUDED)
Before starting assembly and installation please prepare the needed tools as below picture
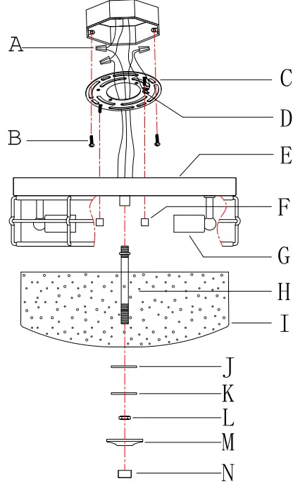
PARTS TYPE & QTY INCLUDING
OUTLET BOX
- (C) Mounting plate (1)
- (D) Green ground screw (1)
- (E) Canopy (1)
- (F) Knob nut (2)
- (G) Socket (3)
- (H) Tube (1)
- (I) Glass shade (1)
- (J) Plastic washer (1)
- (K) Iron washer (1)
- (L) Hex nut (1)
- (M) Cover (1)
- (N) Nut (1)
ACCESSORIES & QTY ENCLOSED
- (A) Plastic wire connector (3)
- (B) Mounting screw (2)
ASSEMBLY & INSTALLATION INSTRUCTIONS
- Carefully remove the fixture from the carton and check that all parts and accessories are
- Unscrew knob nuts (F) from mounting plate (C).
- Set them aside for later installation.
- Screw tube (H) onto the bottom of the canopy (E).

- Turn off power Before you start the installation, NEVER attempt any work without shutting off the electricity until the work is done.
- Go to the main fuse, or circuit breaker, box in your home.
- Place the main power switch in the “OFF” position.
- Place the wall switch in the “OFF” position.
- Carefully pass the supply wires through the mounting plate (C).

- Secure the mounting plate (C) to the outlet box with mounting screws (B).
- NOTE: the side of mounting plate (C) marked “GND” must face out.
- Make wire connections
- Connect wires as below wires connection shown.
- PLEASE NOTE THAT GROUND WIRE IS BARE COPPER WIRE, NEVER CONNECT OTHER WIRES TO GROUND WIRES.
Connect ground wires according to the below chart
Connect wires according to the below chart
- Connect Black or Red Supply Wire to:
- Black
- Parallel cord (round & smooth)
- Clear, Brown, Gold, or Black without tracer
- Insulated wire(other than green)
- with copper conductor
- Connect White Supply Wire to:
- White
- Parallel cord (square & ridged)
- Clear, Brown, Gold, or Black with tracer
- Insulated wire(other than green) with silver conductor
Note: When parallel wires (SPT I& SPT ll) are used. The neutral wire is square shaped or ridged and the other wire will be round in shape or smooth (see illus.)
- Twist wires together with plastic wire connectors until tightly joined.
- Wrap each connector with approved electrical tape.
- Be sure that no wire strands are exposed and then carefully tuck all wires into the outlet box.
- Raise canopy (E) over the outlet box.

- Align canopy (E) with the pre-assembled mounting screws.
- Secure canopy (E) with the previously removed knob nuts (F) till snug.
Note: canopy (E) should be snug against the ceiling and knob nuts (F).
- If not, adjust the threaded length on the mounting plate assembly (C):
- Unscrew the pre-assembled hex nuts.
- Screw the pre-assembled screws in or out of the mounting plate (C).
- When the secure length is achieved, tighten the hex nuts and back to step 7.
- Install bulbs (not included) (Please do not exceed the maximum wattage recommended on the socket.)

- Carefully let tube (H) pass through glass shade (I), plastic washer (J), and iron washer (K).
- Secure them with hex nuts (L).
- Carefully let tube (H) pass through cover (M).
- Secure it with nut (N).
Note: glass shade (I) should be snug against canopy (E) and nut (N). If not, adjust the threaded length in the tube (H):
- Remove cover (M) and flat nut (N).
- Remove glass shade (I), plastic washer (J), iron washer (K), and hex nut (L).
- Screw the threaded pipe in or out of the tube (H) as shown in the illustration.
- When the secure length is achieved, return to step 2).
- Check everything is already installed properly, then you could turn on the light. Enjoy!
ORDERING PARTS
Keep this sheet for future reference in case you need to order replacement parts. All parts for this fixture can be ordered from the place of purchase. Be sure to use exact wording from illustrations when ordering parts.
CLEANING
To clean, wipe the fixture with a soft cloth. Clean glass with a mild cleaner (such as mild and non-abrasive soap). Do not use abrasive materials such as scouring pads or powders, steel wool, or abrasive paper.
- +1 850 296 2377 Working hours: Mon – Fri 9:00 – 16:00 EST
- [email protected]






















