A-11195CBN-4PK Brushed Nickel Selectable
LED Flush Mount Ceiling Light Fixture
Instruction Manual
ASSEMBLY INSTRUCTIONS
CAUTION
◆ Inspect the wire insulation for any cuts, abrasions, or exposed copper that may have resulted during shipping. If there is a defect in the wire, do not attempt installation.
◆ Before starting installation of this fixture or removal of a previous fixture, disconnect the power by turning off the circuit breaker or by removing the fuse at the fuse box.
TOOLS REQUIRED

HARDWARE INCLUDED

*PARTS SHOWN MAY DIFFER SLIGHTLY PER LIGHT FIXTURE
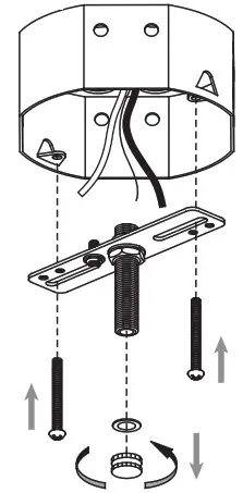
EXPLODED PARTS

INSTALLATION
STEP 1
- Unscrew the washer and ball nut from the mounting unit.
- Adjust threaded rod on mounting unit to allow fixture to rest flush against the ceilin when ball nut is tightened.
- Use the mounting screws to attach the mounting unit to the junction box (not included).

STEP 2
Unscrew the shade from the fixture.

STEP 3
Make the electrical connection from the junction box (not included) to the fixture.
Connect the ground wire to the mounting unit using the preinstalled green ground screw.
Next, connect the positive, negative and ground wires with the supplied wire nuts.
Secure with electrical tape.

STEP 4
Secure the fixture to the mounting unit with the washer and ball nut.

STEP 5
Select the color temperature you need.

STEP 6
Raise the shade up allowing the protrusions to engage the indentations of the shade, and twist the shade to lock into place.

![]()













