PROJECT SOURCE MXL1139-L42K9027H 1-Light 17-Inch Brushed Nickel LED Flush Mount Light Instruction Manual
PROJECT SOURCE and logo design are trademarks or registered trademarks of LF, LLC. All rights reserved.
Thank you for purchasing this Project Source product. We’ve created these easy-to-follow instructions to ensure you spend your time enjoying the product instead of putting it together. But, if you need more information than what is provided here, please visit Lowes.com, search the item number and refer to the Guides & Documents tab on the product’s page.
If you have any questions or problems, please call our customer service department at 866-389-8827, 8 a.m. – 8 p.m., EST, Monday – Sunday. You could also contact us at [email protected].
Nous vous remercions d’avoir acheté cet article Project Source.
Gracias por comprar este producto Project Source
TROUBLESHOOTING
| PROBLEM | POSSIBLE CAUSE | CORRECTIVE ACTION |
| Fixture does not light. | Power is off, incorrect wire connection, or defective wall switch | Check circuit breaker or wall switch, check wire splices, or replace wall switch. |
CARE AND MAINTENANCE
Ensure power is off before cleaning
WARRANTY
This fixture is warranted to be free from defects in materials and workmanship for five (5) years from the date of original purchase. Call 866-389-8827 to obtain a Return Authorization number and further instructions. The manufacturer will be liable for the replacement of the defective item and will not be liable for any other loss, damage, or injury which is caused by the product.
PREPARATION
Before beginning assembly of product, make sure all parts are present. Compare parts with package contents list and hardware contents list.
If any part is missing or damaged, do not attempt to assemble the product.
Estimated Assembly Time: 15 minutes
TOOLS REQUIRED
FEELING CONFIDENT?
Visit www.lowes.com for more information
SAFETY INFORMATION
Please read and understand this entire manual before attempting to assemble, operate or install the product.
WARNING
Be sure the electricity to the wires you are working on is shut off. Either remove the fuse or turn off the circuit breaker.
CAUTION
This device complies with Part 15 of the FCC Rules. Operation is subject to the following two conditions: (1) This device may not cause harmful interference, and (2) this device must accept any interference received, including interference that may cause undesired operation.
PACKAGE CONTENTS


INSTALLATION OVERVIEW

Loosen both nuts from the un-hinged studs as shown.
(Note: Do not loosen the one from the hinged/bendable stud)0
Select desired color temperature.

Insert the mounting screws (AA) about 1.0 inch into the Junction box (Do not screw them all the way)
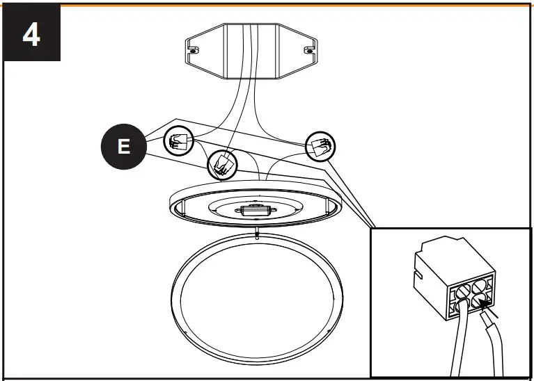
Connect:L-L,N-N,GND-GND.
Place the fixture pan (A) over the pre-installed mounting screws and the mounting screws should align with two of the screw holes.
















