GOLDEN LIGHTING 0314-FM10 10 in. Remy Flush Mount Light

Pendants & Linear Pendants Above a Kitchen Island

Center a linear pendant over the island. If hanging pendants, use one pendant for every 24″ of island. Fixtures should hang at least 30″ above the countertop.
Pendants & Chandeliers Above a Dining Room Table

Fixtures should stay at least 30″ above the table. Use a fixture that is 12″ narrower than the width of the table.
Pendants and Chandeliers in Open Areas

The bottom should hang at least 7.5 feet from the floor. Allow clearance for any opening doors.
We appreciate your business and hope you love your new light!
Great lighting can add value and enhance the look of your home. To ensure the best lighting in your space, remember to layer your lighting. This ensures that your space will have both task and ambient lighting. Coordinating fixtures like sconces, flush mounts, and pendants can help you meet your layered lighting needs and reinforce your desired aesthetic. Install the lights with dimmers that allow you to control the level of light output at any given moment. Get function and style! Browse our site for coordinating lights and expert lighting advice. To help create the perfect look, visit www.GoldenLighting.com.
Love your light and want to show it off? Follow us, share a picture, and tag us on Social…
Assembly Instructions
How to Identify the Fixture’s Wires

- Hot: Smooth, Black, or Transparent with Black Inner Thread
- Neutral: Ribbed, White or Transparent with White Inner Thread
- Ground: Copper, Bare Metal, Green, or Transparent Inner Thread
For Customer Service, contact the place of purchase to arrange for replacement parts.
PREPARING FOR INSTALLATION

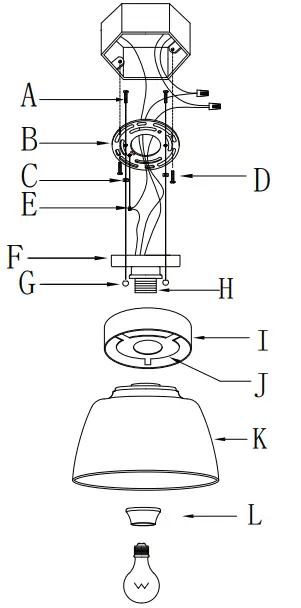
Carefully remove the new fixture from the carton as well as the yellow bag that holds all of the parts. See the important notes above. Shut off power at the circuit breaker and remove old fixture from wall, including the old mounting strap. 1. From the parts bag remove the mounting strap (B) assembly. Mounting strap (B) contains several threaded holes, find the pair of holes that matches the spacing of the holes on the junction box. Two sets of mounting screws (A & D) should be attached to mounting strap (B). You may need to tighten nuts (C) that hold mounting screws (A) in place. If the screws are not attached, please hold canopy (F) up to mounting strap (B). Line up the holes in canopy (F) with the holes in mounting strap (B) and insert mounting screws (A) into mounting strap (B) so that mounting screws (A) protrude through the holes in canopy (F). Mounting screws (A) are long, so please test the canopy against the mounting strap to see how far you should insert the screws. Tighten nuts (C) onto mounting screws (A) to hold the screws in place. 2. Place mounting strap (B) over the junction box. Secure mounting strap (B) to the junction box using mounting screws (D) and a screwdriver. Tighten the screws securely. Pull house wires for the center of the mounting strap.
ASSEMBLING THE FIXTURE
No Assembly Required – This item arrives assembled and ready for installation. Please proceed to the next step.
CONNECTING THE WIRES
3. Have an assistant support the fixture’s weight while completing the wiring. Refer to the wiring diagram and attach the fixture’s wires to the power supply wires from the junction box. Attach the fixture’s wires to the power supply wires from the junction box. Connect Hot to Hot (transparent wire with black inner thread, black, or smooth wire) Neutral to Neutral (transparent wire with white inner thread, white, or ribbed wire), and Ground to Ground (transparent wire with green inner thread, green wire, or copper). Twist the ends of the wire pairs together, and then twist on a wire connector. Make sure all twists are inthe same direction. If there is no house ground wire coming from the junction box, locate ground screw (E) on the mounting bracket/mounting strap and wrap the fixture’s ground wire around the ground screw. Use a screwdriver to tighten the top of ground screw (E) onto the wires and into the mounting bracket/mounting strap. Tuck the wires into the junction box.
FINISHING THE INSTALLATION
4. Hold the canopy (F) over mounting strap (B) so that the holes in the mounting strap (B) line up with the holes in the canopy (F). Thread the deco nuts (G) onto exposed threads of the mounting screws (A) until canopy (F) issnug against the ceiling. 5. Hold decoration iron ring (I) to glass shade (K) to best determine the position desired. Lift both decoration iron ring (I) and glass shade (K) up to socket (H). Make sure the holder (J) inside the decoration iron ring (I) is snug on the glass shade (K). Secure the glass shade (K) and decoration iron ring (I) with the socket ring (L). Thread socket ring (L) onto socket (H) tightly to secure. 6. Install light bulb (not included) onto socket (H)in accordance with the fixture’s specifications. Do not exceed the maximum recommended wattage. Your installation is now complete. Turn on the power and test the fixture


















