Tabitha Flush Mount 6890-FM BLK-CWB
Instruction Manua
Tabitha Flush Mount 6890-FM BLK-CWB
Thank You for Choosing Golden Lighting for Your Lighting Needs!
![]() | ![]() | ![]() |
| Pendants & Linear Pendants Above a Kitchen Island Center a linear pendant over the island. If hanging pendants, use one pendant for every 24″ of the island. Fixtures should hang at least 30″ above the countertop. | Pendants & Chandeliers Above a Dining Room Table Fixtures should stay at least 30″ above the table. Use a fixture that is 12″ narrower than the width of the table. | Pendants and Chandeliers in Open Areas The bottom should hang at least 7.5 feet from the floor. Allow clearance for any opening doors. |
We appreciate your business and hope you love your new light!
Great lighting can add value and enhance the look of your home. To ensure the best lighting in your space, remember to layer your lighting. This ensures that your space will have both task and ambient lighting. Coordinating fixtures like sconces, flush mounts, and pendants can help you meet your layered lighting needs and reinforce your desired aesthetic. Install the lights with dimmers that allow you to control the level of light output at any given moment.
Get function and style! Browse our site for coordinating lights and expert lighting advice. To help create the perfect look, visit www.GoldenLighting.com.
Love your light and want to show it off?
Follow us, share a picture, and tag us on Social…
Assembly Instructions: 6890-FM
How to Identify the Fixture’s Wires

Hot: Smooth, Black, or Transparent with Black Inner Thread

https://qrco.de/bbv8UC
Get help, quick tips, and explore curated content
Assembly Instructions: 6890-FM
For Customer Service, contact the place of purchase to arrange for replacement parts.
IMPORTANT:
- All installation work should be done by an accredited professional.
- Shut off power supply at fuse or circuit breaker!
- Use only the specified bulbs. Do not exceed the maximum wattage!
Assembly Instructions:
PREPARING FOR INSTALLATION
Carefully remove the new fixture from the carton as well as the yellow bag that holds all of the parts. See the important notes above. Shut off power at the circuit breaker and remove old fixtures from wall, including the old mounting strap.
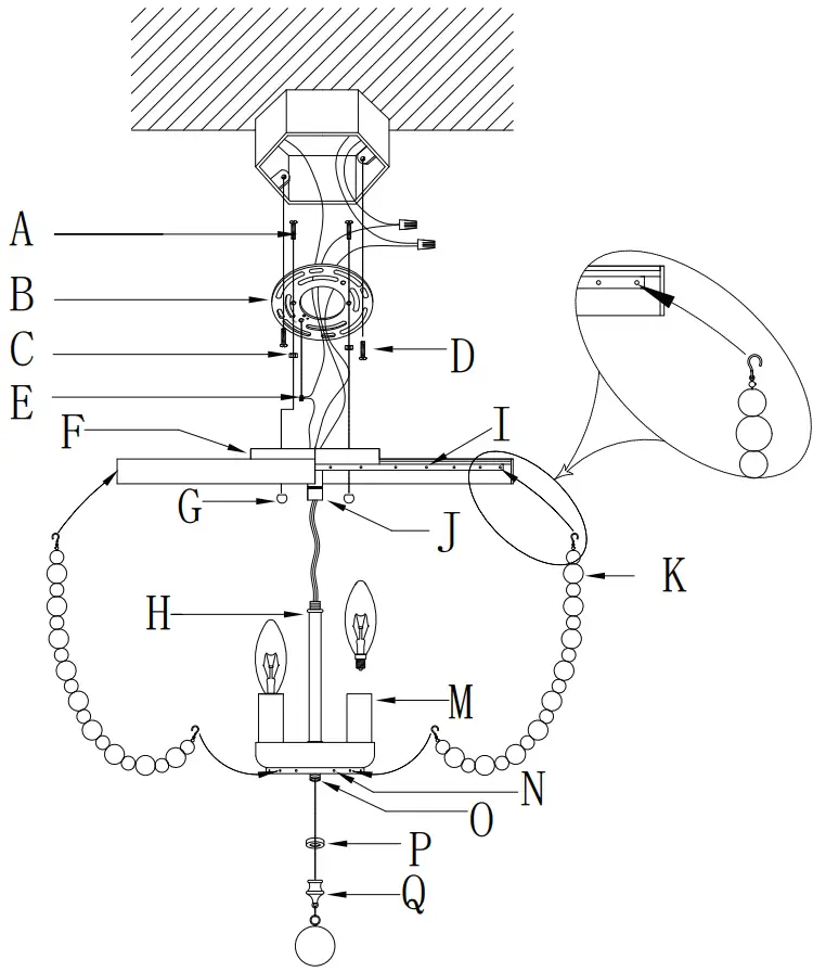
- From the parts bag remove the mounting strap (B) assembly. Mounting strap (B) contains several pairs of threaded holes, find the pair of holes that matches the spacing of the holes on the junction box. Two sets of mounting screws (A & D) should be attached to the mounting strap (B). You may need to tighten nuts (C) that hold these screws in place. If the screws are not attached, please hold canopy (F) up to mounting strap (B). Line up the holes in the canopy (F) with the holes in the mounting strap (B) and insert mounting screws (A) into the mounting strap (B) so that mounting screws (A) protrude through the holes in the canopy (F). Mounting screws (A) are long, so please test the canopy against the mounting strap to see how far you should insert the screws. Tighten nuts (C) onto mounting screws (A) to hold the screws in place.
- Place mounting strap (B) over the junction box. Secure mounting strap (B) to the junction box using mounting screws (D) and a screwdriver. Tighten the screws securely. Pull house wires for the center of the mounting strap.
ASSEMBLING THE FIXTURE - Push the fixture wires through the connector (J) and canopy (F). Thread the column (H) to the connector (J).
- Attach one end of wood beads string (K) to the top frame (I) and the other end to the bottom ring (N). Make sure all wood bead strings are hanging straight.
- Attached the wood bead string finial (Q) to the nipple (O) through the small cover(P).
CONNECTING THE WIRES - Have an assistant support the fixture’s weight while completing the wiring. Refer to the wiring diagram and attach the fixture’s wires to the power supply wires from the junction box. Attach the fixture’s wires to the power supply wires from the junction box. Connect Hot to Hot (transparent wire with black inner thread, black, or smooth wire) Neutral to Neutral (transparent wire with white inner thread, white, or ribbed wire), and Ground to Ground (transparent wire with green inner thread, green wire, or copper). Twist the ends of the wire pairs together, and then twist on a wire connector. Make sure all twists are in the same direction. If there is no house ground wire coming from the junction box, locate ground screw (E) on the mounting bracket/mounting strap and wrap the fixture’s ground wire around the ground screw. Use a screwdriver to tighten the top of the ground screw (E) onto the wires and into the mounting bracket/mounting strap. Tuck the wires into the junction box.
FINISHING THE INSTALLATION - Carefully raise up the frame (I) and hold the canopy (F) over the mounting strap (B) so that the holes in the mounting strap (B) line up with the holes in the canopy (F). Thread the deco nuts (G) onto exposed threads of the mounting screws (A) until the canopy (F) is snug against the ceiling. 8. Install light bulbs (not included) into the sockets in accordance with the fixture’s specifications. Do not exceed the maximum recommended wattage. Your installation is now complete. Turn on the power and test.
@GoldenLighting
@GLFixtures tip
@GoldenLightingl
@GoldenLighting
GoldenLighting.com




















