MAXIM LIGHTING 11120 Harbor 1-Light Flush Mount Instruction Manual
Introduction
Please consult your electrician for hanging fixture and wiring.
Light Source: 1* E26*60W (Not include)
Before Getting Started
- Read the instructions carefully prior to assembling the product
- When you open the package with a sharp tool like a cutter knife, be careful not to damage the components inside.
- Carefully remove all packaging materials and retain for future use.
- Keep all hardware parts and packaging out of reach of small children.
- Choose a clean, level, spacious assembly area.
Avoid hard surfaces that may damage the product. - Ensure that you have all required contents for complete assembly.
- Take care when lifting. Assemble the product in close proximity to where you intend to position the item.
- Do not over tighten the screws and bolts as this may damage the threads.
- Do not let children play with this product.
Risk of suffocation!
Keep any packaging materials away from children.
Lamp Care Instructions
- Carefully read through the instruction sheet before assembly and using the product.
- Caution there is a risk of shock. Disconnect from power source before assembling or cleaning.
- Switch off, unplug and allow bulb to cool before replacing bulb or cleaning.
- Only use the recommended bulb type and do not exceed the maximum wattage as it could cause fire.
- Do not plug the product in if cord is torn or frayed.
Cleaning & Maintenance
- On polished finishes, often using talc powder reduces the appearance of fingerprints and other smudges
- For respective shade surfaces, use the appropriate cleansers, i.e. glass cleaner, acrylic polish, and wood polish.
- Clean with soft cloth and a mild detergent. DO not use abrasive cleaner.
- Periodically (every 90 days) make sure that the screws are fully tightened.
- Prolonged exposure to heat sources may cause glazing, melting and scorching, or even cause color to fade.
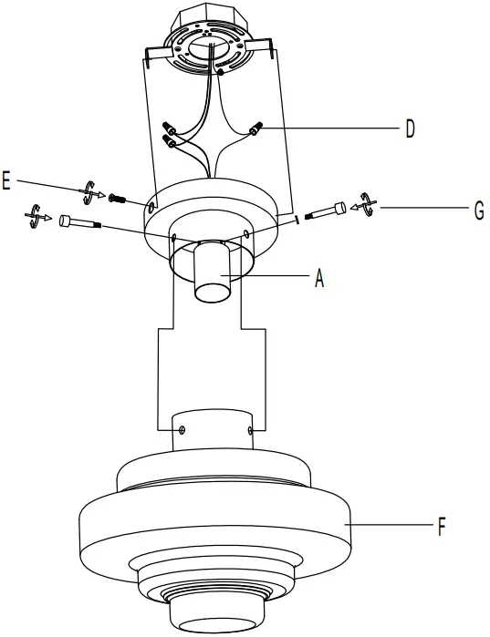
Contents
Before getting, started, ensure the package contains the following components:
| A. | Lamp Frame![]() | X1 |
| B. | Mounting unit![]() | X1 |
| C. | Support screw![]() | X2 |
| D. | Wire nuts![]() | X3 |
| E. | Support screw![]() | X2 |
| F. | GLASS SHADE-GLS11120CL![]() | X1 |
| G. | ![]() | X3 |
Dimension
























