MAXIM LIGHTING 12040 Dawn Flush Mount Ceiling Light Instruction Manual

General Lighting (Including AC LED)

GENERAL Lighting Instructions
Carefully read through the instruction sheet before assembly and using the product.
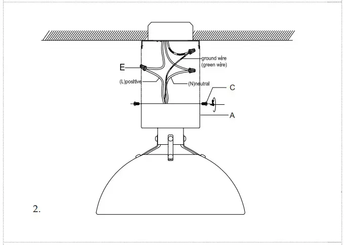
Caution there is a risk of shock Disconnect from power source before assembling or cleaning.
Switch off, unplug and allow bulb to cool before replacing bulb or cleaning.
Only use the recommended bulb type and do not exceed the maximum wattage as it could cause fire. Do not plug the product in if cord is torn or frayed.
Cleaning & Maintenance
On polished finishes, often using talc powder reduces the appearance of fingerprints and other smudges. For respective shade surfaces, use the appropriate cleansers, i,e. glass cleaner, acrylic polish, and wood polish.
Clean with soft cloth and a mild detergent. DO not use abrasive cleaner.
Periodically (every 90 days) make sure that the screws are fully tightened.
Prolonged exposure to heat sources may cause glazing, melting and scorching, or even cause color to fade.
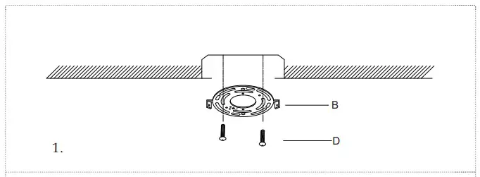
Contents
Before getting,started,ensure the package contains the following components:




















