
Thank you for selecting Globe as your lighting choice for your home. With proper care, this product will provide years of pleasure and enjoyment.
Carefully follow the instructions in order to ensure that this product functions safely and properly for years to come.
3-LIGHT FLUSH MOUNT
FOR YOUR SAFETY:
Most electrical accidents are caused by carelessness or ignorance. If you combine a basic knowledge of electricity, a healthy respect for it, and a dose of common sense, you can safely tackle many household electrical repairs. Here are some basic guidelines for working with electricity:
Before working on a circuit, go to the main service panel and remove the fuse or trip the breaker that controls that circuit. Tape a sign to the panel warning others to leave the circuit alone while you work.
Before touching any wire, use a voltage tester to make sure it’s not live.
Whenever you check for voltage in a receptacle, check both outlets — each may be controlled by a separate wiring circuit.
When replacing fuses, turn off the main power first. Make sure your hands and feet are dry, and place one hand behind your back to prevent electricity from making a complete circuit through your chest. Touch a plug fuse only by its insulated rim. Remove cartridge fuses with a fuse puller.
Use tools with insulated handles and ladders made of wood or fiberglass.
To protect children, place safety covers over any unused outlets.
When unplugging a power tool or appliance, pull on the plug, not on the power cord.
Improperly used extension cords are a leading cause of electrical fires. They are for temporary use only – do not use them to extend a circuit permanently.
Keep dry-chemical fire extinguishers in the kitchen, basement, and workshop.
Never disable grounding devices. Make sure that all appliances requiring grounding are properly grounded, and that the electrical system itself is properly grounded.
Meet or exceed all electrical code requirements that cover the work you are doing.
Always work with enough light to see what you are doing; it’s easy to make mistakes when you’re working in dim light.
When in doubt about the safety of any electrical repair or test, call in a professional.
CONSULT A QUALIFIED ELECTRICIAN TO ENSURE CORRECT BRANCH CIRCUIT CONDUCTOR.
Since 1932, Globe has taken pride in offering products of the highest quality, and a level of service unparalleled in the industry.
Should you encounter any difficulties, have any questions or simply wish to offer us your valuable feedback, you may contact us in the following ways:
Toll Free Telephone: 1-888-543-1388 (North America Only) / Toll Free Fax: 1-800-668-4562 (North America Only)
E-Mail: [email protected] / Mail: Globe
Electric Customer Service Department
150 Oneida, Montreal, Quebec, Canada H9R 1A8
Please visit our website to discover other quality
Globe products: http://www.globe-electric.com
INSTRUCTIONS
ELECTRICAL INSTALLATION
FIG. 1.
Place the wall switch to the “OFF” position.
Depending on which type of fuse box you have in your home:
FIG. 2.
Place either the main (Master) switch to the “OFF” position, cutting off power to your entire home OR turn off the individual switch that provides power to where the fixture will be installed.
OR
FIG. 3.
Place either the main (Master) switch to the “OFF” position, cutting off power to the entire home OR unscrew the fuse that provides power to where the fixture will be installed.

FIG. 1 WALL SWITCH FIG. FIG. 2 BREAKER PANEL

FIG. 3 FUSE BOX
Cleaning: Before cleaning your lamp, turn off the switch or power source. Wipe the lamp with a soft, damp cloth.

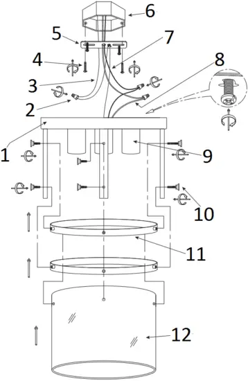
- Canopy
- Wire connector
- Ground wire
- Outlet box screw
- Mounting bracket
- Outlet box (not provided)
- Black live wire
- White neutral wire
- Socket
- Decorative nut
- Decorative ring
- Glass shade
3-LIGHT FLUSH MOUNT
requires 3 medium base bulbs,
60 watt maximum each (sold separately)













