globe 61182 Sheldon 4 Light Semi Flush Mount Ceiling Light

Before Getting Started
- Read the instructions carefully prior to assembling the product.
- When you open the package with a sharp tool like a cutter knife, be careful not to damage the components inside.
- Carefully remove all packaging materials and retain them for future use.
- Keep all hardware parts and packaging out of reach of small children.
- Choose a clean, level, spacious assembly area.
- Avoid hard surfaces that may damage the product.
- Ensure that you have all required contents for Complete assembly.
- Take care when lifting. Assemble the product in close proximity to where you intend to position the item.
- Do not over-tighten the screws and bolts as this may damage the threads.
- When you have finished assembling the product, place it on a flat surface and make sure it is stable before use.
- Do not let children play with this product.
DANGER
Risk of suffocation! Keep any packaging materials away from children.
Cleaning & Maintenance
- Keep the product away from direct heat and sunlight.
- Prolonged expoSure to heat sources may cause glazing, melting, and SCorching, or even cause the color to fade.
- Regular vacuuming or light brushing helps to remove dirt and prevent soil build-up, which increases the appearance of wear
- Periodically (every 90 days) make sure that the Screws are fully tightened.
Lamp Care Instructions
- Carefully read through the instruction sheet before assembly and using the product.
- Caution there is a risk of shock. Disconnect from the power source before assembling or cleaning.
- Switch off, unplug and allow the bulb to cool before replacing the bulb or cleaning.
- Use a soft clean dry cloth that will not scratch or smudge the surface when cleaning.
- Only use the recommended bulb type and do not exceed the maximum wattage as it could cause a fire.
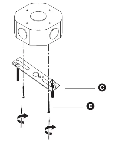
Electrical Installation
- FIG. 1 Place the wall switch in the “OFF” position.
Depending on which type of fuse box you have in your home: - FIG. 2 Place either the main (Master) switch to the “OFF” position, cutting off power to your entire home; OR turn off the individual switch that provides power to where the fixture will be installed.
- OR FIG. 3 Place either the main (Master) switch to the “OFF” position, cutting off power to the entire home; OR unscrew the fuse that provides power to where the fixture will be installed.

- CONSULT A QUALIFIED ELECTRICIAN TO ENSURE THE CORRECT BRANCH CIRCUIT CONDUCTOR.
Contents
Before getting started, ensure the package Contains the following components:






















