HINKLEY 3480 Teardrop 13 Inch Wide Flush Mount

Item No: 3480
Start here
- Find a clear area in which you can work.
- Unpack fixture and glass from carton.
- Carefully review instructions prior to assembly
Assembly Instructions
- To mount your fixture directly to a junction box. First take mounting plate (A) and thread the two 8-32 mounting screws (b) provided. Into the threaded holes in the mounting plate that are 2-3/4” apart. This will match the hole spacing on the fixture backplate (C). Screws (B) should be threaded into the back of mounting plate (A). NOTE: The head of the ground screw is on the front of the mounting plate – see Drawing 1.

- Now attach mounting plate (A) to junction box (J) using two 8-32 screws (D), NOT PROVIDED. Make sure that the mounting screws (B) previously installed in mounting plate are facing outward and are level, horizontally, when installed.
NOTE: THE MOUNTING PLATE FOR YOUR FIXTURE IS DESIGNED WITH ADDITIONAL ANCHOR HOLES (S) TO PROVIDE ADDITIONAL SUPPORT, WHEN MOUNTED TO A JUNCTION BOX OR WALL – SEE DRAWING 1.
PLEASE USE APPROPRIATE ANCHORING HARDWARE FOR THE MATERIAL YOU ARE MOUNTING TOO. IT IS HIGHLY RECOMMENDED TO ADD THE ADDITIONAL SUPPORT.
MOUNTING FIXTURE
- Determine mounting plate (A) location on the wall .
- Then mark the location of holes (S) on the wall. NOTE: make sure mounting screws (B) in mounting plate (A) are horizontal when marking the hole location.
- Attach mounting plate (A) to wall, using appropriate hardware (AP) for the type of material you are anchoring into. (NOT SUPPLIED)
- Make connections between fixture wires and plug (white-ribbed) (blacksmooth) Note follow IS 18 to wire directly to wall
- Then follow “MOUNTING BACKPLATE TO THE MOUNTING PLATE” instruction below.
- Installation is complete and fixture can be plugged in
SAFETY WARNING: READ WIRING AND GROUNDING INSTRUCTIONS (I.S. 18) AND ANY ADDITIONAL DIRECTIONS. TURN POWER SUPPLY OFF DURING INSTALLATION. IF NEW WIRING IS REQUIRED, CONSULT A QUALIFIED ELECTRICIAN OR LOCAL
MOUNTING BACKPLATE TO THE MOUNTING PLATE, with OR without PLUG DRAWING 3 – MOUNTING TO A WALL

- To complete the mounting process to a junction box. First after making all wiring connections, tuck the wires into the junction box.
- Now slip screws (B), in mounting plate (A), through holes (E) in backplate (C), and hold back plate against the wall – see Drawing 1.

- Now thread on barrel knobs (F), onto the end of screws (B), and tighten down till backplate is snug against the wall.
- Fixture installation is complete and shade can now be attached.
SHADE INSTALLATION
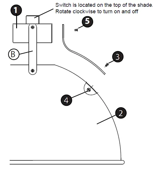
- To start assembly secure top of bracket (B) to socket body (1) using screws (5)
- Repeat process for all four brackets.
- Next slip screw (3) through hole in bottom of bracket and hole in shade (2)
- Secure bracket to shade using ball knob (4)
- Repeat steps 3 and 4 for all four brackets
- Follow mounting instructions on the next page to complete installation
- To adjust the arms (AR), to an angle of your liking. Loosen the “H” key (HK), located at the arm joints, approximately 1-1/2 turns or until the teeth, at the joint, can be disengaged – see Drawing 2.

- Rotate arm (AR) up or down to the desired angle and then tighten the “H” key to secure the arm.
- NOTE: that the arm can also pivot to the right or left at the canopy joint. (Cj).
Wiring grounding instructions
SAFETY WARNING: READ WIRING AND GROUNDING INSTRUCTIONS (IS 18) AND ANY ADDITIONAL DIRECTIONS. TURN POWER SUPPLY OFF DURING INSTALLATION. IF NEW WIRING IS REQUIRED, CONSULT A QUALIFIED ELECTRICIAN OR LOCAL AUTHORITIES FOR CODE REQUIREMENTS
Indoor Fixtures
- Connect positive supply wire (A) (typically black or the smooth, unmarked side of the two-conductor cord) to positive fixture lead (B) with appropriately sized twist on connector – see Drawings 1 or 2.
- Connect negative supply wire (C) (typically white or the ribbed, marked side of the two-conductor cord) to negative fixture lead (D).
- Please refer to the grounding instructions below to complete all electrical connections
Outdoor Fixtures
- Connect positive supply wire (A) (typically black or the smooth unmarked side of the two-conductor cord) to positive fixture lead (B) with appropriately sized twist on connector — see Drawings 2 or 3.
- Connect negative supply wire (C) (typically white or the ribbed, marked side of the two-conductor cord) to negative fixture lead (D).
- Cover open end of connectors with silicone sealant to form a watertight seal.
If installing a wall mount fixture, use caulk to seal gaps between the fixture mounting plate (backplate) and the wall. This will help prevent water from entering the outlet box. If the wall surface is lap siding, use caulk and a fixture mounting platform specially. - Please refer to the grounding instructions below to complete all electrical connections.
Flush Mount Fixtures
For positive grounding in a 3-wire electrical system, fasten the fixture ground wire (E) (typically copper or green plastic coated) to the fixture mounting strap (M) with the ground screw (S) – see Drawing 1.
Note: On straps for screw supported fixtures, first install the two mounting screws in strap. Any remaining tapped hole may be used for the ground screw.
Chain Hung Fixtures
Loop fixture ground wire (E) (typically copper or green plastic coated) under the head of the ground screw (S) on fixture mounting strap (M) and connect to the loose end of the fixture ground wire directly to the ground wire of the building system with appropriately sized twist-on connectors – see Drawing 2.
Post-Mount Fixtures
Connect fixture ground wire (E) (typically copper or green plastic coated) to power supply ground with appropriately sized twist-on connector inside post. Cover open end of connector with silicone sealant to form a watertight seal – see Drawing 3.
HINKLEY 33000 Pin Oak Parkway Avon Lake, OH 44012 800.446.5539 / 440.653.5500 hinkley.com





















