11151 Jake Flush Mount
Instruction Manual![]()
Ok, let’s get rolling
This should be easy, just follow our instructions and you will be back to Netflix in no time.
Estimated time for assembly
20:00
What you need
- Your favorite snack or energy bar (Save the bubbly for once your fixture is safely installed!)
- Use the packaging carton as a working surface to prevent product damage during assembly
Do not use a drill
What’s included
| Description | Qty |
| 1 Fixture | 1 |
| 2 Shade | 1 |
| 3 Decorative Screw | 3 |
| A Junction Box Screws M4*26mm | 2 |
| B Mounting Plate with Bolts | 1 |
| C Finial Cap | 2 |
| D Wire Nuts | 3 |
Safety first, fun later
Safe use of this product starts with you.
Use this light fixture responsibly with the primary concern for your safety. Follow assembly instructions carefully and inspect product upon receipt and each use.
Nathan James and its parent companies cannot be held legally responsible for any injuries or death resulted from failure to follow instructions or improper use of this product.
Do not modify the structure of this product in any way.
Our products have been tested to meet specific safety measures as they were originally intended to be sold. Any modifications will present the risk of creating significant safety issues which Nathan James will not be responsible for.
Proper use
| DO NOT | use for commercial purposes |
| DO NOT | leave spilled liquid on fixture |
| DO NOT | use light fixture if damaged |
| DO NOT | make temporary repairs |
| DO NOT | use outdoors |
| DO NOT | use in wet or damp locations |
WARNING
Inspect the wire insulation for any cuts, abrasions, or exposed copper that may have occurred during shipping. If there is a defect in the wire, do not attempt installation. Please reach out to our Customer Happiness team at [email protected] or 1-866-619-1004
WARNING: RISK OF ELECTRIC SHOCK
Before starting the installation, disconnect the power by turning off the circuit breaker or by removing the appropriate fuse at the fuse box. Turning the power off at the switch is NOT SUFFICIENT to prevent electrical shock.
PLEASE CONSULT A QUALIFIED ELECTRICIAN IF YOU HAVE ANY ELECTRICAL QUESTIONS.
The goods

IMPORTANT
- Do not tighten bolts / screws completely until all bolts / screws are lined up and inserted into holes.
- Do not over tighten screws and bolts to avoid stripping.
- Please use hand tools to assemble this product. Do not use power tools.
Pre-Installation
- Read all instructions prior to beginning assembly.
- To avoid damaging this product, assemble it on a soft, non-abrasive surface such as carpet or cardboard.
- Keep the receipt and these instructions for proof of purchase.
- Use 1 Type A bulb or 13W LED or 13 W CFL bulb (not included).
- 120 V 60Hz AC Only
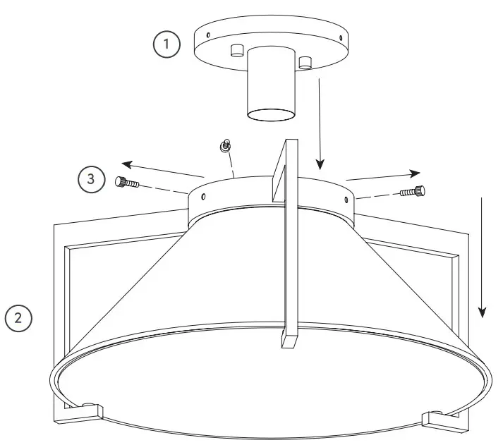
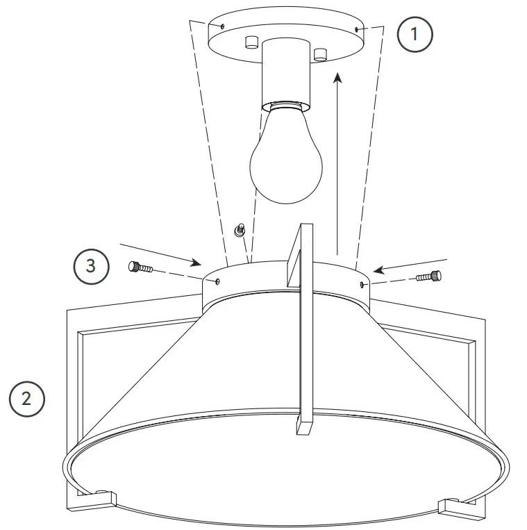
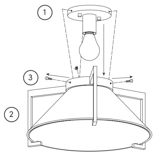
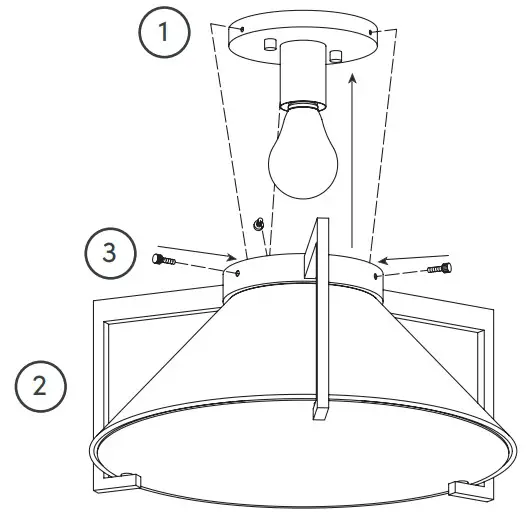
Step 1
It’s as easy as it looks! Remove Decorative Screws (3) to separate the Shade (2) from the Fixture (1).

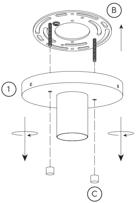
Step 2
Remove Finial Caps (C) to separate the Fixture (1) from the Mounting Plate (B).
Helpful tip: Righty-tightly, lefty-loose!

Step 3
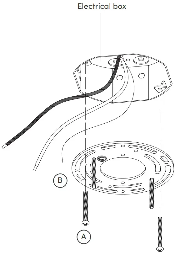
Install the Mounting Plate (B) to your pre-existing Electrical Box.
Note: Be sure that you are only making the connections to a 120V AC 60Hz circuit. If you do not have a pre-existing electrical box, we strongly advise using a certified electrician.

Step 4
Ground Wire from the Fixture (1) is to be wrapped around the grounding screw on the Mounting Plate (B).
P.S. We aren’t judging you if you’ve already pulled out your snack. Ours was eaten by Step 2.

Step 5
Join matching colored wires with Wire Nuts.
Begin tucking the excess wire into the electrical box.

Step 6
Using the Finial Cap, mount the Fixture to the Mounting Plate.
Be sure that you have all of the excess wire tucked into the Electrical Box.
Don’t forget:
Righty-tightly, lefty-loose!

Step 7
Install light bulb (not included).
It’s all coming together!

Step 8
Secure the Shade (2) to the Fixture (1) using the Decorative Screws (3).
Tip from a friend to a friend: First secure the three decorative screws 75% and once they’re in place, tighten 100%.

Troubleshooting
| Problem | Possible Causes | Solutions |
| The bulb will not light. | The bulb is burned out. | Replace the light bulb. |
| The power is off. | Ensure the power supply is on. | |
| The circuit breaker is off. | Ensure the circuit breaker is in the ON position. | |
| The fuse blows or circuit breaker blows when the light is turned on. | There is an exposed wire. | Discontinue use of the light. Contact a qualified electrician or reach out to our Customer Happiness team at help®nathanjames.com or 1-866-619-1004. |
Changing the bulb is easy as 1-2-3
Remove Decorative Screws (3) to separate the Shade (2) from the Fixture (1).

Out with the old, in with the new!
Insert your new bulb.

Secure the Shade (2) to the Fixture (1) using the Decorative Screws (3).

Questions? Don’t worry, we’ve got the answers
What other light bulbs can fit in this light?
The bulb must not be greater than the max wattage for the fixture. It must match the base size, and the diameter of any area of the bulb should be less than diameter of any area of shade, so that it can fit.
Can I use an LED light bulb?
Yes, so long that the base size matches and the diameter of any area of bulb is less than diameter of any area of shade, so that it can fit.
Is this UL/ETL certified?
Yes, all our products are either UL or ETL.
Do I need an electrician to set up the hardwire?
We recommend using a certified electrician for all hardwiring, although all of our fixtures can be set up without an electrician, as long as you are replacing an existing fixture or have an existing junction box ready for a fixture installation. ENSURE POWER IS OFF WHEN INSTALLING. For all new constructions, please use a certified electrician.
Can I retrofit this hard-wired to a plug-in or vice-versa?
Yes, a plug-in fixture can be turned into a hardwire fixture and a hardwire fixture can become a plug-in fixture. For many products we will provide all the necessary hardware to make these changes, if not, you will need to purchase the necessary hardware.
Is this light compatible outside North America?
Our lighting is only warranted in Canada and the United States.
What do I do if the product is not working?
Try a different light bulb and confirm proper installation.
Can these lights work on a dimmer?
Dimmability is related to the light bulb and the wall switch, not the light fixture. All our hardwire fixtures are compatible with dimmable light bulbs. We recommend using a dimmer switch, as it extends the life of the bulb and allows for energy saving and great ambiance. If using a LED bulb, please ensure both your LED bulb and dimmer switch are compatible.
Can I use the fixture outdoors?
No, this product is not approved for wet or damp locations.
No heartburn, when we handle the return
Give us a call 1-866-619-1004 or shoot us a message at [email protected] we will issue you a free replacement with zero hassle.
Our way
| Give us a call | |
| Replacement | |
| You |
Their way
| Re-package item | |
| Schedule pick up | |
| Track package | |
| Replacement | |
| You |
We are only in business if you’re happy
For starters, thanks for being you.
Toll-free at 1-866-619-1004
[email protected]
NathanJames.com/help
We do our best to ensure your furniture arrives without any problems, but occasionally mistakes happen—as humans we are imperfect beings. In the event that a part is damaged or missing, we will be more than happy to provide you with replacement part(s) for free.
Warranty
This product comes with a lifetime warranty from the date of purchase. Please use your phone to scan the QR code to register your product or visit https://goo.gl/i9dk3q
Did we do alright? Please spread the love!
If you are happy with your product, tell your friends and family about us or even better leave us a review online. Spreading the word gives us the opportunity to make more people happy and keep our prices low for your next purchase.
Founder, Nathan James
https://qrcodes.pro/0iX5P3
Scan me!
Inspiration
Digital Instructions
Free Lifetime Warranty


















