HAY 100236044 Matin Flush Mount Wall Mount Instruction Manual
The Matin Flush Mount offers a contemporary yet poetic design, with a construction that combines visual delicacy with physical robustness. The lamp comprises a painted steel bracket for mounting onto the wall or ceiling, and is covered by a pleated cotton shade in two sizes with different colour options.
The light source is two retrofit E14 bulbs that create a soft and ambient light.
CARE AND MAINTENANCE
TECHNICAL DATA
This product is fitted with two E14 bulb fittings. HAY recommends using this product with LED bulbs, max 5-8W, 2800k warm white. HAY will not accept any responsibility for any accidents, injuries or damages that occur due to the use of incorrect bulbs. For dimming, please check which LED bulbs are compatible with your wall mounted dimmers.
ATTENTION
Ensure that the power supply to the circuit has clearly been turned OFF before installing the product. In some countries, electrical installation must be carried out by authorised electricians/ contractors; please check with your local authority for guidance. The product must not be modified in any way. HAY accepts no responsibility for any products that have been modified or tampered with.
If the external flexible cable or cord of this luminaire is damaged, it should be exclusively replaced by a qualified electrician in order to avoid an electrical hazard. This lamp is designed for indoor use only.
- The Matin Flush Mount is designed to be used with LED based light sources only.
- Halogen or incandescent light sources should never be used, as they may cause damage to the lamp.
CARE AND MAINTENANCE
Do not use wet or damp cloths for cleaning and maintaining the shade. Please use a dry, lint-free cloth or duster to remove any dirt. Do not use alcohol or any other solvents to clean the product and avoid using abrasive or rough sponges. Ensure that the power supply has been turned OFF before cleaning the product.
PARTS
- Shade

- Top Screw and Shade Bracket

- Lamp Bracket

Installation Instructions
Before installing the lamp, make sure that the power is turned off.
Use a pencil to mark fixing holes on either side of the ceiling, using the slots in the bracket as guides. The bracket is suitable for most standard European and US junction boxes.
Drill holes and insert wall plugs. Ensure you use the correct type of drill and wall plug for the type of ceiling you are drilling into.
Screw the ceiling bracket into the ceiling, using the appropriate screws for the wall plugs used.
It is advised that any wire exposed with just a single basic layer of insulation is covered with the protective heat shrink provided. (Two sleeves for the basic insulated wire and one sleeve for covering the opening of the mains cable).
A heat gun can be used to shrink and fix the protective insulation in place, as shown below.
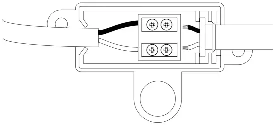
Insert a flat screwdriver underneath the tabs on the side of the cable connector block to open the lid.
Loosen the two screws on the connector block, closest to the protective sleeve.
Insert the main cable into the protective sleeve.
Feed the main cables into separate slots on the connector block. Insert the live mains cable into the side with the live cable on the lamp, and fasten the corresponding screw.
Repeat this step with the neutral cable.
Once the cables have been properly wired and secured, the lid on the connector block can be closed. Make sure it is firmly in place and cannot come loose.
ATTENTION
Live mains cable to live lamp cable.
Neutral mains cable to neutral lamp cable.

ATTENTION
Close the connector block after wiring.
Once the lamp bracket has been wired and the connector block properly closed, the bulbs can be fitted.
Remove the shade from its packaging and spread out the bottom while simultaneously pushing it down over the top screw, so that it rests on top of the shade bracket.
Gently push the top of the pleated shade underneath the top screw, so that it is wedged between the top screw and top cap.
Once the shade is in place, gently adjust the pleats at the top so that they are evenly spread out, as shown below. Once the shade is as illustrated, the top screw can be fully tightened.
The shade assembly and lamp bracket can now be assembled.
Screw the shade assembly clockwise into the centre hole on the lamp bracket and tighten fully. The lamp is now ready for use.
ATTENTION
Do not place anything, which is not a part of the lamp´s construction, inside the lamp shade.
Havnen 1 8700 Horsens Denmark
+45 4282 0282 / [email protected]




















