Hunter 19818 Woodburn 4 Light Flush Mount

PREPARING FOR INSTALLATION
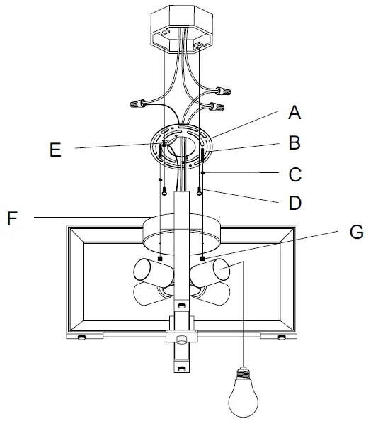
Carefully remove all contents from the carton. Shut off the power at the circuit breaker and completely remove the old fixture from the ceiling, including the old mounting bracket. Remove the new mounting bracket assembly from the bag. Remove cap nuts (G) from mounting screws (B). Place the mounting plate (A) over the junction box so that mounting screws (B) and nuts (C) extend out away from the ceiling. Adjust the position of mounting screws (B) so that mounting screws (B) can be exposed 5-6 mm after passing through the canopy (F) to properly fit the cap nuts. Depending on the placement of your junction box the position of mounting screws (B) may need to be adjusted to allow the canopy to be flush with the ceiling. Mounting screws (B) can be adjusted by loosening nuts (C) and loosening or tightening mounting screws (B). Once the ideal position of mounting screws (B) has been confirmed, tighten nuts (C) on mounting screws (B) on the front of the mounting plate to ensure that mounting screws (B) are secure. Pull the house wires through the center of mounting plate (A). Secure mounting plate (A) to the junction box by tightening the screws (D).

CONNECTING THE WIRES
Have a helper support the fixture’s weight while completing the wiring. Attach the fixture’s wires to the power supply wires from the junction box. Connect black to black (Live); white to white (grounded); grounding to grounding (green or copper). Twist the ends of the wire pairs together. Then, twist on a wire connector. Make sure all twists are in the same direction. Loop fixture’s ground wire around grounding screw (E) and tighten. If there is no ground wire (green or copper) from the junction box, contact a qualified electrician.

FINISHING THE INSTALLATION
Raise canopy (F) to mounting plate (A) and position mounting screws (B) so that they protrude through the openings of canopy (F). Secure canopy (F) in place with cap nuts (G). Install light bulb (not included) in accordance with the fixture’s specifications. Do not exceed the recommended wattage. Your installation is now complete. Turn on the power and test the fixture.
CLEANING TIPS
Treat the fixture gently! Regular cleaning will reduce the need for deep cleaning. For regular cleaning, turn off the light and wipe down the fixture with a clean lint-free cotton or microfiber cloth. Never spray cleaner directly onto the fixture.
WARNING
- To avoid possible electrical shock, before installing your light fixture, disconnect the power by turning off the circuit breakers to the outlet box associated with the wall switch location.
- The lighting fixture must be grounded. If the ground wire for the installation site is not present, immediately STOP installation and consult a qualified electrician.
- All wiring must be in accordance with national and local electrical codes ANSI/NFPA 70. If you are unfamiliar with wiring or in doubt, consult a qualified electrician.


















