HINKLEY 1639 LED Atlantis 36 Inch Tall 3 Light Outdoor Wall Light Instruction Manual
Fixture Mounting

Fixture Installation
Assembly Instructions
- Find a clear area in which you can work.
- Unpack fixture and glass from carton.
- Carefully review instructions prior to assembly.
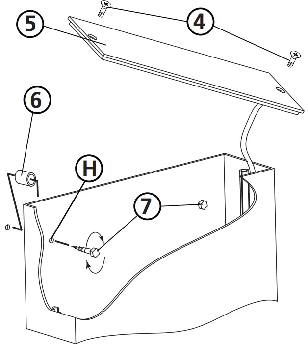
NOTE: Due to the height of the 1639 fixture it requires additional
mounting support at the top of the fixture. This is accomplished by using
two self tapping screws located near the top of the fixture illustrated in drawing 2.
- Prepare mounting strap (A) by threading 1” nipple (C) into the center hole of the mounting strap (A), approximately 1/4“ – see Drawing 1.
- Attach mounting strap (A) to junction box (J) using two screws (B) not provided.
- Attach the fixture to the wall by first unthreading the two screw (1) from the bottom lens cover (2) and remove lens cover.
- Then slip the fixture’s center hole (E) and secure in place by threading the hex nut (F) onto threaded tube (C).
- Now remove the two top screws (4) from the top plate (5), then lift top plate with caution not to damage the wires connected to the top socket. Let top plate (5) hang off the side of the fixture.
- Now using a marking tool, mark location of top mounting holes (H) – see Drawing 2.
- Now remove fixture from wall by following steps 5 and 4 in reverse order.
- Pilot holes can be drilled at marked locations on wall using a 1/16”
(1.5mm) for the self tapping screws that will be used to mount the top of the fixture.
Safety Warning: read wiring and grounding instructions (Wiring Instructions for 0-10 volt LED dimmer) and any additional directions, Turn power supply off during installation. If new wiring is required, consult a qualified electrician or local authorities for code requirements.
Caulking Instructions
After securing fixture to the wall it is recommended that the gap between the wall and the fixture backplate be sealed on the top and both sides, with a good quality waterproof caulk or silicone sealant (NOT INCLUDED) – see Drawing 1.

After securing fixture in place it is recommended that the gap between the
mounting top and fixture base be sealed with any good quality waterproof caulk or silicone sealant (not included). It is also recommended that a small bead of caulk or sealant be put under the ball knobs used to mount fixture – see Drawing


















