HINKLEY 1647 LED Luna 9 Inch Tall 2 Light Outdoor Wall Light

Assembly Instructions
Fixture Mounting

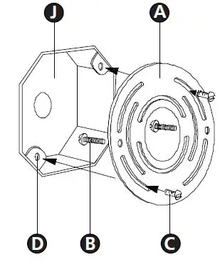
- Prepare mounting strap (A) by threading the two 8-32 mounting screws
(B) into the back of the mounting strap (A) – see Drawing 1.
Be sure the holes into which the screws are threaded match the spacing of holes (E) in the fixture (F). - Attach mounting strap (A) to junction box (J) by threading 2 screws (C) not provided into holes (D) of junction box (J).
- Remove the 2 screws (3) from the bottom lens cover (4) and then remove lens cover (4) – See Drawing 2.
- Remove threaded thumb screws (G) from inside the lower lamp compartment of fixture (F).
- Remove ribbed plate (H) from the center of fixture (F), exposing mounting holes (E).
SAFETY WARNING:
READ WIRING AND GROUNDING INSTRUCTIONS (Wiring Instructions for 0-10 volt LED dimmer) AND ANY ADDITIONAL DIRECTIONS. TURN THE POWER SUPPLY OFF DURING INSTALLATION. IF NEW WIRING IS REQUIRED, CONSULT A QUALIFIED ELECTRICIAN OR LOCAL AUTHORITIES FOR CODE REQUIREMENTS.
Note:
This fixture requires two grounds to be connected. One on the mounting bracket (A) and another on the back of fixture (B).
- To mount the fixture, line up holes (E) on the fixture (F) and slide the fixture over both 8-32 x 1 screw (B) – see Drawing 1.
- While holding the fixture in place, thread the two 8-32 battery nuts (5) provided onto screws (B).
- Re-insert the ribbed plate (H) and secure using the thumb screws (G) removed earlier.

Wiring Instructions for 0-10 volt LED dimmer
Your fixture is designed so it can use a standard incandescent dimmer, Or a 0-10 volt LED dimmer. If a 0-10 volt LED dimmer is used, it may be necessary to have additional wiring installed from the dimmer switch to the fixture. Consulting an electrician will be necessary.
- If using the optional 0-10 volt dimmer there will be four wires exiting the junction box. (B) Black [+], (W) White [-], and wiring is for the 120 / 277 voltage. The (G) Gray {-} and (P) Purple {+} are for the 0-10 volt wires from the dimmer (D) – see Drawing 1.
- The fixture has four wires of corresponding colors. When making the wire connections follow the chart below.
- Black (B) from junction box (J) wired to Black (B) from fixture (F).
- White (W) from junction box (J) wired to White (W) from fixture (F).
- Gray/Pink(G) from junction box (J) wired to Gray/Pink (G) from fixture (F).
- Purple (P) from junction box (J) wired to Purple (P) from fixture (F)
Connect the ground wire from the fixture to the ground screw on the mounting hardware
INCANDESCENT DIMMER USAGE
If using an incandescent dimmer follow the manufactures instructions.
NOTE:
MAKE SURE TO CAP OFF THE GRAY AND PURPLE WIRE FROM THE FIXTURE INSIDE THE CANOPY. IF THEY ARE NOT CAPPED THEY CAN SHORT OUT AND CAUSE THE FIXTURE TO FAIL.
IS200 Caulking Instructions
After securing the fixture to the wall it is recommended that the gap between the wall and the fixture backplate be sealed on the top and both sides, with a good quality waterproof caulk or silicone sealant (NOT INCLUDED) – See Drawing 1.
After securing the fixture in place it is recommended that the gap between the mounting top and fixture base be sealed with any good quality waterproof caulk or silicone sealant (not included). It is also recommended that a small bead of caulk or sealant be put under the ball knobs used to mount the fixture – see Drawing 2.
Contact
HINKLEY 33000 Pin Oak Parkway, Avon Lake, OH 44012 800.446.5539 / 440.653.5500 hinkley.com.

















