HINKLEY 1662 Luna 5 Inch Tall 2 Light LED Outdoor Wall Light

Assembly Instructions
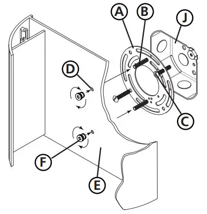
Drawing 1 – Strap Detail
start here
- Find a clear area in which you can work.
- Unpack fixture and glass from carton.
- Carefully review instructions prior to assembly.
- Prepare mounting strap (A) by threading the two 8-32 mounting screws (B) into the back of the mounting strap (A) – see Drawing 1.
Be sure the holes into which the screws are threaded match the spacing of holes (D) in the backplate (E). - Attach mounting strap (A) to junction box (J) using 2 screws (C) not provided.
- Prepare mounting strap (A) by threading the two 8-32 mounting screws (B) into the back of the mounting strap (A) – see Drawing 1.
SAFETY WARNING: READ WIRING AND GROUNDING INSTRUC-TIONS (Wiring Instructions for 0-10 volt LED dimmer) AND ANY ADDITIONAL DIRECTIONS. TURN POWER SUPPLY OFF DURING INSTALLATION. IF NEW WIRING IS REQUIRED, CONSULT A QUALIFIED ELECTRICIAN OR LOCAL AUTHORITIES FOR CODE REQUIREMENTS.
Drawing 2 – Fixture Assembly
- To prepare luminaire for mounting, remove top and bottom panel (1) by removing the corner screws (2). Set parts aside to be used later – see Drawing 2.
Note: on 1661/1662 fixture, the bottom panel is recessed into the body. - To mount luminaire, line up holes (D) in backplate (E) and slide holes over both screws (B) – see Drawing 1.
- While holding luminaire in position, thread the two battery nuts (F) onto end of screws (B) and tighten.
- To complete assembly replace bottom panel (1) and secure with screws (2).
REPLACEMENT PARTS LIST
(1662) UPPER LED / LED SUPERIOR / DEL SUPÉRIEURE LC2-60-27
Wiring Instructions for 0-10 volt LED dimmer
start here
Your fixture is designed so it can use a standard incandescent dimmer, Or a 0-10 volt LED dimmer. If a 0-10 volt LED dimmer is used, it may be necessary to have additonal wiring installed from the dimmer switch to the fixture. Consulting an electrician will be necessary.
DRAWING 1
- If using the optional 0-10 volt dimmer there will be four wires exiting the junction box. (B) Black [+], (W) White [-], wirng are for the 120 / 277 voltage. The (G) Gray {-} and (P) Purple {+} are for the 0-10 volt wires from the dimmer (D) – see Drawing 1.
- The fixture has four wires of corrisponding colors. When make the wire connections follow the chart below.
Black (B) from junction box (J) wired to Black (B) from fixture (F). White (W) from junction box (J) wired to White (W) from fixture (F). Gray/Pink(G) from junction box (J) wired to Gray/Pink (G) from fixture (F).
Purple (P) from junction box (J) wired to Purple (P) from fixture (F)
Connect ground wire from fixture to ground screw on mounting hardware
INCANDESCENT DIMMER USAGE:
If using an incadescent dimmer follow manufactures instructions.
NOTE: MAKE SURE TO CAP OFF THE GRAY AND PURPLE WIRE FROM THE FIXTURE INSIDE THE CANOPY. IF THE ARE NOT CAPPED THEY CAN SHORT OUT AND CAUSE THE FIXTURE TO FAIL.
IS200 Caulking Instructions
start here
After securing fixture to the wall it is recommended that the gap between the wall and the fixture backplate be sealed on the top and both sides, with a good quality waterproof caulk or silicone sealant (NOT INCLUDED) – see Drawing 1.
After securing fixture in place it is recommended that the gap between the mounting top and fixture base be sealed with any good quality waterproof caulk or silicone sealant (not included). It is also recommended that a small bead of caulk or sealant be put under the ball knobs used to mount fixture – see Drawing 2. 
HINKLEY 33000 Pin Oak Parkway, Avon Lake, OH 44012 800.446.5539 / 440.653.5500 hinkley.com

















