Assembly Instructions
Item No: 1326
1326 Shelter Outdoor Wall Light
Drawing 1 – Fixture Mounting
start here
- Find a clear area in which you can work.
- Unpack fixture and glass from carton.
- Carefully review instructions prior to assembly.
*** The construction of this fixture will be accomplished by first installing the mounting strap to the junction box, making all necessary electrical connections, mounting the fixture to the wall, and then installing the glass.
- Prepare mounting strap (A) by threading the two long mounting screws (B) into the back of the mounting strap (A) – see Drawing 1.
• Be sure the holes into which the screws are threaded match the spacing of holes (D)in the backplate (E). - Attach mounting strap (A) to junction box (J) using two 1” screws (C) not provided.
Drawing 2 – Fixture Assembly
SAFETY WARNING: READ WIRING AND GROUNDING INSTRUCTIONS (I.S. 18) AND ANY ADDITIONAL DIRECTIONS. TURN POWER SUPPLY OFF DURING INSTALLATION. IF NEW WIRING IS REQUIRED, CONSULT A QUALIFIED ELECTRICIAN OR LOCAL AUTHORITIES FOR CODE REQUIREMENTS.
Make electrical connections from supply wire to fixture lead wires. Refer to instruction sheet (I.S. 18) and follow all instructions to make all necessary wiring connections. Then refer back to this sheet to complete installation of this fixture.
1.To mount fixture, slip the two mounting screws (B) through the two mounting holes (D) in the backplate (E) – see Drawing 1.
2. While holding fixture in place, thread the two ball knobs (F) on to the end of the mounting screws (B), and tighten.
- Fixture can now be lamped accordingly.
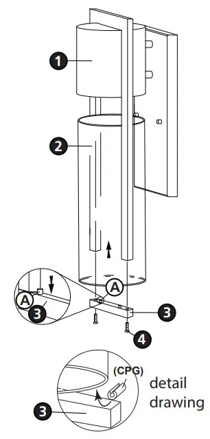
- Remove screws (4) from under crossbar (3) – see Drawing 2.
- Slip one end of glass cylinder (2) into upper cap (1).
- Take crossbar (3) and slip the glass (2) over pegs (A) and hold glass (2) and crossbar (3) in position.
- Thread screws (4) back into fixture to secure crossbar (3) and the glass (2) .
NOTE: ADDITIONAL CLEAR PLASTIC GROMMETS (CPG) HAVE BEEN SUPPLIEDWITH THIS FIXTURE. THEY CAN BE SLIPPED OVER THE GOTTOM EDGE OF THEWHERE IT CONTACTS THE BOTTOM CROSSBAR (3). SEE DETAIL DRAWING.
I.S. 18 wiring grounding instructions
SAFETY WARNING: READ WIRING AND GROUNDING INSTRUCTIONS (IS 18) AND ANY ADDITIONAL DIRECTIONS. TURN POWER SUPPLY OFF DURING INSTALLATION. IF NEW WIRING IS REQUIRED, CONSULT A QUALIFIED ELECTRICIAN OR LOCAL AUTHORITIES FOR CODE REQUIREMENTS
wiring instructions
Indoor Fixtures
- Connect positive supply wire (A) (typically black or the smooth, unmarked side of the two-conductor cord) to positive fixture lead (B) with appropriately sized twist on connector – see Drawings 1 or 2.
- Connect negative supply wire (C) (typically white or the ribbed, markedside of the two-conductor cord) to negative fixture lead (D).
- Please refer to the grounding instructions below to complete all electrical connections
Drawing 1 – Flush Mount
Outdoor Fixtures
- Connect positive supply wire (A) (typically black or the smooth unmarked side of the two-conductor cord) to positive fixture lead (B) with appropriately sized twist on connector – – – see Drawings 2 or 3.
- Connect negative supply wire (C) (typically white or the ribbed, markedside of the two-conductor cord) to negative fixture lead (D).
- Cover open end of connectors with silicone sealant to form a watertight seal. If insta l ling a wall mount fixture, use caulk to seal gaps between the fixture mounting plate (backplate) and the wall. This will help preventwater from entering the outlet box. If the wall surface is lap siding, ucaulk and a fixture mounting platform specially.
- Please refer to the grounding instructions below to complete all electrical connections.
Drawing 2 – Chain Hung
grounding instructions
Flush Mount Fixtures
For positive grounding in a 3-wire electrical system, fasten the fixture ground wire (E) (typically copper or green plastic coated) to the fixture mounting strap (M) with the ground screw (S) – see Drawing 1.
Note: On straps for screw supported fixtures, first install the two mounting screws in strap. Any remaining tapped hole may be used for the ground screw.
Drawing 3 – Post-Mount
Chain Hung Fixtures
Loop fixture ground wire (E) (typically copper or green plastic coated) under the head of the ground screw (S) on fixture mounting strap (M) and connect to the loose end of the fixture ground wire directly to the ground wire of the building system with appropriately sized twist-on connectors – see Drawing 2.
Post-Mount Fixtures
Connect fixture ground wire (E) (typically copper or green plastic coated)to power supply ground with appropriately sized twist-on connector inside post. Cover open end of connector with silicone sealant to form a watertight seal – see Drawing 3.
IS200 Caulking Instructions
start here
After securing fixture to the wall it is recommended that the gap between the wall and the fixture backplate be sealed on the top and both sides, with a good quality waterproof caulk or silicone sealant (NOT INCLUDED) – see Drawing 1.
After securing fixture in place it is recommended that the gap between the mounting top and fixture base be sealed with any good quality waterproof caulk or silicone sealant (not included). It is also recommended that a small bead of caulk or sealant be put under the ball knobs used to mount fixture – see Drawing 2. 
HINKLEY 33000 Pin Oak Parkway,
Avon Lake,
OH 44012 800.446.5539
440.653.5500
hinkley.com










