2425 Clifton Park 25 Inch Tall 3 Light Outdoor Wall Light
Instruction Manual
Mounting Instructions
Drawing 1 – Strap Detail

Drawing 2 – Fixture Mounting

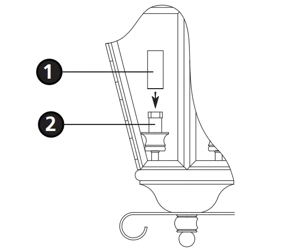
Drawing 3 – Fixture Assembly

start here
- Find a clear area in which you can work.
- Unpack fixture and glass from carton.
- Carefully review instructions prior to assembly.
*** The construction of this fixture will be accomplished by first installing the mounting strap to the junction box, making all necessary electrical connections, mounting the fixture to the wall.
- Prepare mounting strap (A) by threading the two long mounting screws (B) into the back of the gull wing bracket – see Drawing 1. Be sure the holes into which the screws are threaded match the spacing of holes (D) in the back plate (E) – see Drawings 1 and 2.
- Attach mounting strap (A) to junction box (J) using two 1″ screws (C)not provided – seeing 2.
SAFETY WARNING: READ WIRING AND GROUNDING INSTRUCTIONS (1.5. 18) AND ANY ADDITIONAL DIRECTIONS. TURN POWER SUPPLY OFF DURING INSTALLATION. IF NEW WIRING IS REQUIRED, CONSULT A QUALIFIED ELECTRICIAN OR LOCAL AUTHORITIES FOR CODE REQUIREMENTS.
Make electrical connections from supply wire to fixture lead wires. Refer to instruction sheet (1.5. 18) and follow all instructions to make all necessary wiring connections. Then refer back to this sheet to continue installation of this fixture.
- This fixture is manufactured with a safety cable. Refer to instruction sheet (1.5. 101) provided then refer back to this sheet to continue installation of this fixture.
- To mount fixture, slide backplate (E) over screws (B) and secure with ball knobs (F) -see Drawing 2.
- Candle sleeves (1) must be placed over socket (2) prior to installing the bulb – see Drawing 3.
- Fixture can now be lamped accordingly.
Inspection cable Instructions IS-101
Drawing 1 – Inspection Cable Install
- The fixture illustrated on this instruction sheet is only an example and will differ from what you have purchased
SAFETY WARNING: TO AVOID ELECTRICAL SHOCK THIS INSTRUCTION SHEET IS FOR THE SOLE PURPOSE OF SAFETY CABLE INSTALLATION AND IS NOT TO BE USED TO MAKE ANY ELECTRICAL CONNECTIONS.
- To install inspection cable (C). First determine the location of the wall stud the junction box is mounted too – see drawing
- Next, using a #29 size drill. Drill a pilot hole in the side of the junction box and into the stud.
- Using a #8 wood screw, 1″ long (A) and flat washer (B), attach loop on free end of inspection cable (C) to the stud.
- Fixture is now supported and wiring can be done.
IS200 Caulking Instructions
After securing fixture to the wall it is recommended that the gap between the wall and the fixture backplate be sealed on the top and both sides, with a good quality
waterproof caulk or silicone sealant (NOT INCLUDED) – see Drawing 1.

Drawing 1
After securing fixture in place it is recommended that the gap between the mounting top and fixture base be sealed with any good quality waterproof caulk or silicone sealant (not included). It is also recommended that a small bead of caulk or sealant be put under the ball knobs used to mount fixture – see Drawing 2. 
Drawing 2
I.S. 18 wiring grounding instructions
Drawing 1 – Flush Mount

Drawing 2 – Chain Hung

Drawing 3 – Post-Mount

SAFETY WARNING: READ WIRING AND GROUNDING INSTRUCTIONS (IS 18) AND ANY ADDITIONAL DIRECTIONS.
TURN POWER SUPPLY OFF DURING INSTALLATION. IF NEW WIRING IS REQUIRED, CONSULT A QUALIFIED ELECTRICIAN OR LOCAL AUTHORITIES FOR CODE REQUIREMENTS
Wiring instructions
Indoor Fixtures
- Connect positive supply wire (A) (typically black or the smooth, unmarked side of the two-conductor cord) to positive fixture lead (B) with appropriately sized twist on connector – see Drawings 1 or 2.
- Connect negative supply wire (C) (typically white or the ribbed, marked side of the two-conductor cord) to negative fixture lead (D).
- Please refer to the grounding instructions below to complete all electrical connections
Outdoor Fixtures
- Connect positive supply wire (A) (typically black or the smooth unmarked side of the two-conductor cord) to positive fixture lead (B) with appropriately sized twist on connector — – see Drawings 2 or 3.
- Connect negative supply wire (C) (typically white or the ribbed, marked side of the two-conductor cord) to negative fixture lead (D).
- Cover open end of connectors with silicone sealant to form a watertight seal.
If installing a wall mount fixture, use caulk to seal gaps between the fixture mounting plate (backplate) and the wall. This will help prevent water from entering the outlet box. If the wall surface is lap siding, use caulk and a fixture mounting platform specially. - Please refer to the grounding instructions below to complete all electrical connections.
Grounding instructions
Flush Mount Fixtures
For positive grounding in a 3-wire electrical system, fasten the fixture ground wire (E) (typically copper or green plastic coated) to the fixture mounting strap (M) with the ground screw (S) – see Drawing 1.
Note: On straps for screw supported fixtures, first install the two mounting screws in strap. Any remaining tapped hole may be used for the ground screw.
Chain Hung Fixtures
Loop fixture ground wire (E) (typically copper or green plastic coated) under the head of the ground screw (S) on fixture mounting strap (M) and connect to the loose end of the fixture ground wire directly to the ground wire of the building system with appropriately sized twist-on connectors – see Drawing 2.
Post-Mount Fixtures
Connect fixture ground wire (E) (typically copper or green plastic coated) to power supply ground with appropriately sized twist-on connector inside post. Cover open end of connector with silicone sealant to form a watertight seal – see Drawing 3.
HINKLEY 33000 Pin Oak Parkway,
Avon Lake, OH 44012 800.446.5539 / 440.653.5500
hinkley.com












