HINKLEY 1765 LED Edgewater 25 Inch Tall 4 Light Outdoor Wall Light

Item No: 1665 / 1765 LED
Assembly Instructions
- Find a clear area in which you can work.
- Unpack fixture and glass from carton.
- Carefully review instructions prior to assembly.
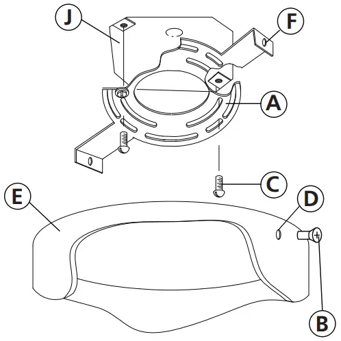
Fixture Mounting

- Attach mounting disc (A) to junction box (J) using two 1” screws (C) not provided.
- Hang the fixture by aligning holes (F) in mounting strap (A) with holes(D) in the side of fixture body.
- When holes are aligned thread in screw (B) to secure fixture to ceiling.
SAFETY WARNING: READ WIRING AND GROUNDING INSTRUCTIONS (Wiring Instructions for 0-10 volt LED dimmer) AND ANY ADDITIONAL DIRECTIONS. TURN POWER SUPPLY OFF DURING INSTALLATION. IF NEW WIRING IS REQUIRED, CONSULT A QUALIFIED ELECTRICIAN OR LOCAL AUTHORITIES FOR CODE REQUIREMENTS.
Note: This fixture requires two grounds to be connected. One on mount-ing bracket (A) and another on the back of fixture (B).
Wiring Instructions for 0-10 volt LED dimmer
Your fixture is designed so it can use a standard incandescent dimmer, Or a 0-10 volt LED dimmer. If a 0-10 volt LED dimmer is used, it may be necessary to have additonal wiring installed from the dimmer switch to the fixture. Consulting an electrician will be necessary.
- If using the optional 0-10 volt dimmer there will be four wires exiting the junction box. (B) Black [+], (W) White [-], wirng are for the 120 / 277 voltage. The (G) Gray {-} and (P) Purple {+} are for the 0-10 volt wires from the dimmer (D) – see Drawing 1.

- The fixture has four wires of corrisponding colors. When make the wire connections follow the chart below.
- Black (B) from junction box (J) wired to Black (B) from fixture (F).
- White (W) from junction box (J) wired to White (W) from fixture (F).
- Gray/Pink(G) from junction box (J) wired to Gray/Pink (G) from fixture (F).
- Purple (P) from junction box (J) wired to Purple (P) from fixture (F)
- Connect ground wire from fixture to ground screw on mounting hardware
INCANDESCENT DIMMER USAGE
If using an incadescent dimmer follow manufactures instructions.
NOTE: MAKE SURE TO CAP OFF THE GRAY AND PURPLE WIRE FROM THE FIXTURE INSIDE THE CANOPY. IF THE ARE NOT CAPPED THEY CAN SHORT OUT AND CAUSE THE FIXTURE TO FAIL.
IS200 Caulking Instructions

After securing fixture to the wall it is recommended that the gap between the wall and fixture backplate be sealed with any good quality waterproof caulk or silicone sealant (NOT INCLUDED) – See Drawing 1.

After securing fixture in place it is recommended that the gap between the mounting top and fixture base be sealed with any good quality waterproof caulk or silicone sealant (not included). It is also recommended that a small bead of caulk or sealant be put under the ball knobs used to mount fixture – see Drawing 2.
HINKLEY
- 33000 Pin Oak Parkway, Avon Lake, OH
- 44012 800.446.5539
- 440.653.5500
- hinkley.com



















