HINKLEY 1668 Luna 6 Inch Wide Outdoor Wall Light

Assembly Instructions
- Find a clear area in which you can work.
- Unpack fixture and glass from carton.
- Carefully review instructions prior to assembly.

- Prepare mounting strap (A) by threading the threaded tubing (N) into the center hole of the mounting strap, approximately 1/4”. See drawing 1.
- Attach mounting strap to junction box (J) using two screws (B), provided with junction box.
- Screw nut (L) onto the threaded tube.

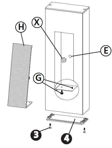
- Next remove the 2 screws (3) from the bottom lens cover (4) and then remove lens cover. See drawing 2.
- Un-thread thumb screws (G) from inside the lower lamp compartment of the fixture.
- Remove ribbed plate (H) from the center of the fixture, exposing the mounting hole (E).
SAFETY WARNING: READ WIRING AND GROUNDING INSTRUCTIONS (I.S. 18) AND ANY ADDITIONAL DIRECTIONS. TURN POWER SUPPLY OFF DURING INSTALLATION. IF NEW WIRING IS REQUIRED, CONSULT A QUALIFIED ELECTRICIAN OR LOCAL AUTHORITIES FOR CODE REQUIREMENTS.
Make electrical connections from supply wire to fixture lead wires. Refer to instruction sheet (I.S. 18) and follow all instructions to make all necessary wiring connections. Then refer back to this sheet to complete installation of this fixture.
- To mount fixure, slip center hole (E) of fixture over the threaded tubing (N).
- While holding the fixture in place, thread the hex nut (X) onto tubing ( N).
- Re-insert ribbed plate (H) and secure using the thumb screws (G).
- Replace the lens cover and secure with the 2 screws (3).
REPLACEMENT PARTS LIST
(1668) UPPER LED / LED SUPERIOR / DEL SUPÉRIEURE LC1-30-27
Wiring Instructions for 0-10 volt LED dimmer

Your fixture is designed so it can use a standard incandescent dimmer, Or a 0-10 volt LED dimmer. If a 0-10 volt LED dimmer is used, it may be necessary to have additonal wiring installed from the dimmer switch to the fixture. Consulting an electrician will be necessary.
- If using the optional 0-10 volt dimmer there will be four wires exiting the junction box. (B) Black [+], (W) White [-], wirng are for the 120 / 277 voltage. The (G) Gray {-} and (P) Purple {+} are for the 0-10 volt wires from the dimmer (D) – see Drawing 1.
- The fixture has four wires of corrisponding colors. When make the wire connections follow the chart below.
Black (B) from junction box (J) wired to Black (B) from fixture (F). White (W) from junction box (J) wired to White (W) from fixture (F). Gray/Pink(G) from junction box (J) wired to Gray/Pink (G) from fixture (F). Purple (P) from junction box (J) wired to Purple (P) from fixture (F) Connect ground wire from fixture to ground screw on mounting hardware
INCANDESCENT DIMMER USAGE
If using an incadescent dimmer follow manufactures instructions.
NOTE: MAKE SURE TO CAP OFF THE GRAY AND PURPLE WIRE FROM THE FIXTURE INSIDE THE CANOPY. IF THE ARE NOT CAPPED THEY CAN SHORT OUT AND CAUSE THE FIXTURE TO FAIL.
IS200 Caulking Instructions
- After securing fixture to the wall it is recommended that the gap between the wall and the fixture backplate be sealed on the top and both sides, with a good quality waterproof caulk or silicone sealant (NOT INCLUDED) – see Drawing 1.

- After securing fixture in place it is recommended that the gap between the mounting top and fixture base be sealed with any good quality waterproof caulk or silicone sealant (not included). It is also recommended that a small bead of caulk or sealant be put under the ball knobs used to mount fixture – see Drawing

HINKLEY 33000 Pin Oak Parkway, Avon Lake, OH 44012 800.446.5539 / 440.653.5500 hinkley.com












