HINKLEY 1768 Satin Black Kube 8 Watt 6 Inch Tall Integrated LED Outdoor Wall Sconce Instruction Manual
Fixture Installation

Mounting Instructions
- Find a clear area in which you can work.
- Unpack fixture and glass from carton.
- Carefully review instructions prior to assembly.
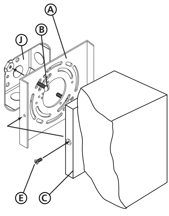
- To begin it will be necessary to remove mounting plate (A) from backplate (C) by removing screws (E) located on the side of the backplate – see Drawing 1.
- To begin installation, first attach mounting bracket (A) to junction box (J) by using two 8-32 screws (B) not provided, or the screws from the previously installed mounting strap or plate. Make sure threaded holes are on the side when installing mounting plate, and plate is plumb by placing a level across the top. Adjust plate and tighten screws to secure mounting plate.
- Next make all wiring connections. Follow instruction sheet (Wiring Instructions for 0-10 volt LED dimmer) provided.
SAFETY WARNING: READ WIRING AND GROUNDING
INSTRUCTIONS (Wiring Instructions for 0-10 volt LED dimmer) AND ANY ADDITIONAL DIRECTIONS. TURN POWER SUPPLY OFF
DURING INSTALLATION. IF NEW WIRING IS REQUIRED, CONSULT
A QUALIFIED ELECTRICIAN OR LOCAL AUTHORITIES FOR CODE REQUIREMENTS.
Note: This fixture requires two grounds to be connected. One on mount ing bracket (A) and another on the back of fixture (B).
- After all electrical connections are made. Slip backplate (C) over mounting strap (A) and align holes in side of backplate (C) with threaded holes on side of mounting strap (A).
- Thread in screws (E) removed earlier to secure backplate to mounting strap.
- Installation is complete and power can be restored.

Caulking Instructions
After securing fixture to the wall it is recommended that the gap between the wall and the fixture backplate be sealed on the top and both sides, with a good quality waterproof caulk or silicone sealant (NOT INCLUDED) – see Drawing 1.
After securing fixture in place it is recommended that the gap between the
mounting top and fixture base be sealed with any good quality waterproof caulk or silicone sealant (not included). It is also recommended that a small bead of caulk or sealant be put under the ball knobs used to mount fixture – see Drawing 2.
HINKLEY 33000 Pin Oak Parkway, Avon Lake, OH 44012 800.446.5539 / 440.653.5500 hinkley.com















