
LED Lamp Wall Sconce
WS10423
INSTALLATION SHEET
START FROM HERE
- Make sure power is completely off at the fuse box.
- Have your fixture installed by a qualified licensed electrician
- Prepare everything in a clear area.
- Wear gloves at all times during this installation.
- Read instructions carefully before you start assembly.
- Keep this instruction sheet for future reference.
Please Note:
- All Kuzco LED fixtures come with pre-wired LED module(s).
- Unless instructed to do so, please do not touch any part of the LED module(s) as any unnecessary contact with the module could cause permanent damage.
- For dimming, an ELV (Electronic Low Voltage) type of dimmer is required.
Technical Support: 1-855-855-8926
- Remove the fixture from its original packaging. To change the canopy, remove the large canopy by loosening the two screws (1d). Separate the bridge (2c) from the large canopy. Attach the narrow canopy (2a) to the bridge (2c) using the two screws (1d). Attach the mounting plate (1a) to the single gang box using the two screws (1c) provided in the hardware package.

- Attach the canopy (2a) with the bridge (2c) to the mounting plate (1a) on the wall. First, attach all wiring with the provided marettes (1b) (white to white “N”, black to black “L”, ground o ground “G’). Now attach the canopy (2a) to the mounting plate (1a) (see illustration_02) by tightening the two set screws (2a). You can now install the fixture (2e) onto the canopy (2a) by tightening the four set screws (2d) (top and bottom) using the Allen key provided in the hardware package.

- You have now completed the installation of your fixture, enjoy.

- If you’re using an octagon gang box this option is recommended.
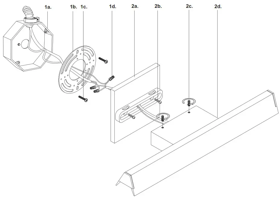
Remove the fixture from its original packaging. Remove the mounting plate (1b) from within the canopy plate (2a) and attach it to the electrical junction box (1a) using the two screws (1c) provided in the hardware package. - Attach the canopy plate to juntion box on the wall. First attach all wiring with the provided wire nuts (1d) (white to white “N”, black to black “L”, ground to ground “G”). Thread the screws (2b) through the canopy plate (2a) and tighten into mounting plate (1b) . Lastly, place the fixture (2d) onto the canopy plate (2a) and secure with set screws (2c).
- You have now completed the installation of your fixture, please enjoy.


19054 28th Avenue Surrey, BC Canada V3Z 6M3
T: 604 538 7162 TF: 1-855 85 KUZCO F: 604 538 7196
W: kuzcolighting.com
20181127




















