Hardware 953750 Willmar 18 Inch Tall LED Outdoor Wall Sconce
Instruction Manual
BEFORE YOU BEGIN
We recommend consulting a professional if you are unfamiliar with installing electric xtures. Signature Hardware accepts no liability for any damage to the property, the product or for personal injury during installation. Observe all local electrical building codes.
Unpack and inspect the product for shipping damage.
If any damage is found, contact our Customer Relations team via live chat at www.signaturehardware.com or by emailing [email protected].
GETTING STARTED
Ensure that you have gathered all the required materials that are needed for the installation.
CARE AND MAINTENANCE:
To clean, wipe with damp cloth. Do not use abrasive cleaners or cleaners that contain alcohol.
CAUTION:
Shut off main power supply before cleaning product or changing light bulbs. All glass is fragile. Use care when handling glass shades and bulbs.
RECOMMENDED TOOLS AND ACCESSORIES
| Connect Black or Red Supply Wire (Lead Wire) to: | Connect White Supply Wire (Neutral Wire) to: |
| Black wire | White wire |
| *Parallel wire (round or smooth) | *Parallel wire (square or ridged) |
| Clear, brown, gold or black wire without tracer | Clear, brown, gold or black wire with tracer |
| Insulated wire (other than green) with copper conductor | Insulated wire (other than green) with silver conductor |
* When parallel wires are used, the neutral wire is ridged down its length and the other wire is round and smooth (see illus.).
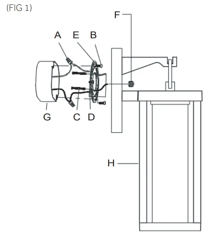
INSTALLATION (FIG 1)

- Shut off he power at the circuit breaker and remove old fxture, including the crossbar.
- Carefully unpack your new fxture and lay out all the parts on a clear area. Take care not to lose any small parts necessary for installation.
- Thread the 2 Mounting Screws (C) to the Mounting plate (E). (You can adjust the length of the screws if necessary.)
- Attach the Mounting plate(E)to the Outlet Box (G) (not supplied) by using 2 Outlet Box Screws (B).
- Now connect the electrical wires as follows: Connect the black wire from the fxture to the black house (hot) wire. Connect the white wire from the fxture to the white (neutral) house wire. Make sure all wire nuts are secured. You may wrap the connections with electrical tape. If your outlet has a ground wire (green or bare copper), connect fxture’s ground wire to it. Otherwise, connect fxture’s ground wire directly to the mounting plate using the green screw provided. Tuck the wire connections neatly into the junction box.
SIGNATURE HARDWARE
1.855.715.1800
signaturehardware.com















