SIGNATURE HARDWARE 434128 Carytown 1 Light 15.5 Inch Black Outdoor Wall Sconce Light Instruction Manual
BEFORE YOU BEGIN
We recommend consulting a professional if you are unfamiliar with installing electric Fxtures. Signature Hardware accepts no liability for any damage to the faucet, plumbing, sink, counter top, or for personal injury during installation Observe all local plumbing and building codes. Unpack and inspect the product for shipping damage. If any damage is found, contact our Customer Relations team via live chat at www.signaturehardware. com or by emailing support@siganturehardware. com.
GETTING STARTED
Ensure that you have gathered all the required materials that are needed for the installation
ADDITIONAL QUESTIONS?
Still need help? Check out our Help Center at www.signaturehardware.com for product and warranty information, or contact us through live chat or by emailing support@signaturehardware. com
CARE AND MAINTENANCE:
To clean, wipe with damp cloth. Do not use abrasive cleaners or cleaners that contain alcohol.
CAUTION
Shut of main power supply before cleaning product or changing light bulbs. All glass is fragile. Use care when handling glass shades and bulbs.
RECOMMENDED TOOLS AND ACCESSORIES
- Wire Connectors (3pcs)

- Pre-assembled (3pcs)

- Spare mounting screw (1pc)

SAVE THIS MANUAL: RETAIN FOR CONSUMER’S USE. READ THESE INSTRUCTIONS COMPLETELY BEFORE
INSTALLING THE PRODUCT: FOR PRODUCT OR INSTALLATIO QUESTIONS PLEASE CALL
CUSTOMER. SERVICE AT 1‐800‐221‐3379.
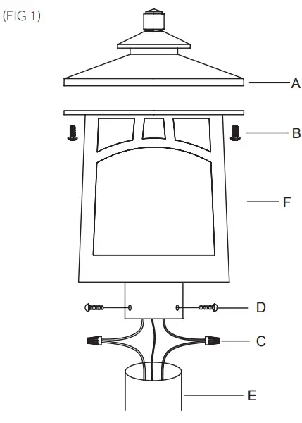
INSTALLATION (FIG 1)

- Shut of the power at the circuit breaker and remove old Fxture,
- Carefully unpack your new Fxture and lay out all the parts on a clear area. Take care not to lose any small parts necessary for installation.
- Assemble the Top Cover (A) to the Cage (F) with
screws (B). - CONNECTING THE WIRES Connect the black wire from the Fxture to the supplied wire. Connect the white wire from the Fxture to the white (neutral) house wire. Make sure all wire nuts are secured. You may wrap the connections with electrical tape. If your outlet has a ground wire (green or bare copper), connect Fxture’s ground wire to it. Tuck the wire connections neatly into the junction box.
- Attach the Cage(F) to the Tube (E) , and secure with Screws (D).






















