10231 Foundry 9 Inch Tall LED Outdoor Wall Light
Instruction Manual
Assembly Instructions
- Find a clear area in which you can work.
- Unpack fixture and glass from carton.
- Carefully review instructions prior to assembly.
DRAWING 1 – ASSEMBLY

- To begin assembly of your fixture it is necessary to first feed the wires (W) from the socket fitter (1) through the arm (2) – see Drawing 1.
- To aid in this procedure you have been provided a length of beaded chain (B). Take the end of the wires (W) from the socket fitter (1) and wrap the stripped wires around the chain, then wrap the wire and chain with a piece of tape to prevent the wire and chain from pulling apart.
- Now slip the free end of the beaded chain (B) through the small hole in the end of the arm (2). Allow the chain to slide through the tube until it exits the other end. Gently shaking or rotating the tube may be required to get the chain through.
- Now take the end of the chain and gently pull the wires through the arm. After the wire exits the arm end, the tape and chain can be removed.
- Now thread the socket fitter (1) into the end of the arm (2).
DRAWING 2 – ASSEMBLY

- To continue assembly the arm must be prepared for mounting to the wall. This is accomplished by first sliding decorative collar (3) onto the arm. It may be necessary to loosen Allen head screw (S), with wrench supplied prior to sliding it on arm (2) – see DRAWING 2.
- Next slide on Hinkley logo plate (4), and rubber gasket (8) followed by canopy (5).
- Now slip wires through center hole in mounting bracket (6).
- Slip end of arm (2) into mounting bracket center hole until the end of the arm is flush with the back of the mounting bracket (6).
- Thread in and tighten the three hex head screws (7) into the neck (N), but do not tighten. Next rotate the mounting bracket so the screw that is equally spaced between the “U” notches (U), in the outer edge of the mounting bracket is facing up. Now tighten screws to secure arm.
NOTE: screws may be loosened after mounting plate is attached to wall to properly align the fixture. - The arm assembly is ready for installation. Please follow the instruction sheet “Mounting Instruction for Foundry series” provided.
Mounting Instructions for FOUNDRY Series
- Find a clear area in which you can work.
- Unpack fixture and glass from carton.
- Carefully review instructions prior to assembly.
| DRAWING 1 – FIXTURE MOUNTING | DRAWING 2 – FIXTURE MOUNTING |
![]() | ![]() |
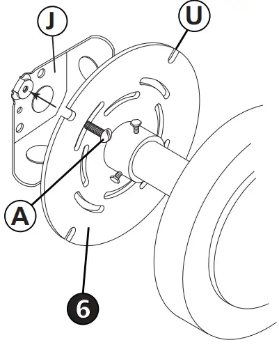
NOTE: There is a small deviation from common wiring practices. The ground wire screw is located on the back of the mounting bracket (6). All wiring connections will have to be made prior to attaching the mounting bracket (6) to the junction box (J).
- To mount your fixture to the wall it will be necessary to first make all electrical connections. This is accomplished by following the wiring instructions found on instruction sheet (IS-18) provided.
- After all wiring connections are made, push all wires into the junction box (J) and attach the mounting bracket (6) to the junction box using two screws (A) NOT PROVIDED – see DRAWING 1.
NOTE: If additional support is needed for a particular installation. The “U” shaped notches in the outer edge of the mounting bracket can used. Please use appropriate hardware for the material, that you will be mounting too.
IT IS RECOMMENDED THAT ALL FIXTURES HAVE ADDITIONAL SUPPORT ON THE MOUNTING BRACKET. - After mounting bracket (6) is securely mounted to the junction box. First slip canopy (5) along arm (2) and up against the wall. This is followed by the Hinkley logo plate (4) and rubber gasket (8). Using collar (3), slide it along arm and up against logo plate to hold the canopy against the wall. Now take the Allen wrench provided and tighten set screw (S) to secure parts.
- Please see instruction sheet “Shade and Accessories for FOUNDRY series” to complete assembly of your fixture.
Shade and Accessories for FOUNDRY Series
- Find a clear area in which you can work.
- Unpack fixture and glass from carton.
- Carefully review instructions prior to assembly.
DRAWING 1 – SHADE INSTALLATION

- To attach the shade to fitter (1) first remove knurled shade ring (9) from socket cover (SC) – see DRAWING 1.
- Next slide decorative ring (8) onto edge of fitter (1). Make sure recess in ring is facing the edge of the fitter.
- Next take the shade (10) and slip socket through center hole of shade. While holding shade in position, thread on shade ring (9) back onto socket cover and tighten to secure parts.
- Fixture is complete. It can now be lamped accordingly and power can be restored.
I.S. 18 wiring grounding instructions
SAFETY WARNING: READ WIRING AND GROUNDING INSTRUCTIONS (IS 18) AND ANY ADDITIONAL DIRECTIONS. TURN POWER SUPPLY OFF DURING INSTALLATION. IF NEW WIRING IS REQUIRED, CONSULT A QUALIFIED ELECTRICIAN OR LOCAL AUTHORITIES FOR CODE REQUIREMENTS
Wiring instructions
Indoor Fixtures
- Connect positive supply wire (A) (typically black or the smooth, unmarked side of the two-conductor cord) to positive fixture lead (B) with appropriately sized twist on connector – see Drawings 1 or 2.
- Connect negative supply wire (C) (typically white or the ribbed, marked side of the two-conductor cord) to negative fixture lead (D).
- Please refer to the grounding instructions below to complete all electrical connections
Outdoor Fixtures
- Connect positive supply wire (A) (typically black or the smooth unmarked side of the two-conductor cord) to positive fixture lead (B) with appropriately sized twist on connector – – – see Drawings 2 or 3.
- Connect negative supply wire (C) (typically white or the ribbed, marked side of the two-conductor cord) to negative fixture lead (D).
- Cover open end of connectors with silicone sealant to form a watertight seal.
If installing a wall mount fixture, use caulk to seal gaps between the fixture mounting plate (backplate) and the wall. This will help prevent water from entering the outlet box. If the wall surface is lap siding, use caulk and a fixture mounting platform specially. - Please refer to the grounding instructions below to complete all electrical connections.
Grounding instructions
Flush Mount Fixtures
Drawing 1 – Flush Mount
For positive grounding in a 3-wire electrical system, fasten the fixture ground wire (E) (typically copper or green plastic coated) to the fixture mounting strap (M) with the ground screw (S) – see Drawing 1.
Note: On straps for screw supported fixtures, first install the two mounting screws in strap. Any remaining tapped hole may be used for the ground screw.
Chain Hung Fixtures
Drawing 2 – Chain Hung

Loop fixture ground wire (E) (typically copper or green plastic coated) under the head of the ground screw (S) on fixture mounting strap (M) and connect to the loose end of the fixture ground wire directly to the ground wire of the building system with appropriately sized twist-on connectors – see Drawing 2.
Post-Mount Fixtures
Drawing 3 – Post-Mount
Connect fixture ground wire (E) (typically copper or green plastic coated) to power supply ground with appropriately sized twist-on connector inside post. Cover open end of connector with silicone sealant to form a watertight seal – see Drawing 3.
HINKLEY
33000 Pin Oak Parkway,
Avon Lake, OH 44012
800.446.5539/440.653.5500
hinkley.com


















