HINKLEY 2561 20 Inch Tall 2 Light LED Outdoor Post Lamp

Assembly Instructions
- Find a clear area in which you can work.
- Unpack fixture and glass from carton.
- Carefully review instructions prior to assembly.
SAFETY WARNING
READ WIRING AND GROUNDING INSTRUCTIONS (I.S. 18) AND ANY ADDITIONAL DIRECTIONS. TURN POWER SUPPLY OFF DURING INSTALLATION. IF NEW WIRING IS REQUIRED, CONSULT A QUALIFIED ELECTRICIAN OR LOCAL AUTHORITIES FOR CODE REQUIREMENTS.
Make electrical connections from supply wire to fixture lead wires. Refer to instruction sheet (I.S. 18) and follow all instructions to make all necessary wiring connections. Then refer back to this sheet to complete installation of this fixture.
- To access sockets to install bulbs, first remove the two screws (S) from underneath the roof edge (R).
- NOTE: after screws are removed the TOP half of the cage (G) can be lifted off..
- Install bulbs and replace cage bottom half using the screws (S) removed earlier.

Glass Replacement
- If glass in top of fixture needs replacing first remove the bottom half of the cage or top roof depending on your particular fixture instructions.
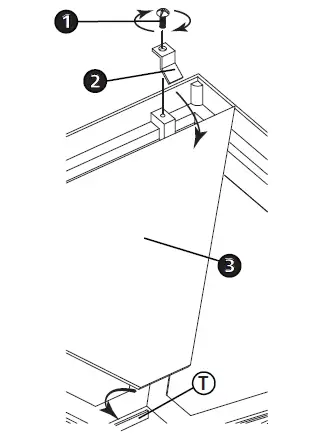
- Next remove screw (1) which holds the glass clip (2) in place – see Drawing 1.
- Next remove glass panel (3) along with silicone gasket that is between the glass panel and the cage roof.
- Remove gasket and place on new piece of glass. Slip glass into cage roof, making sure the top edge is behind tab (T) in roof.
- Lay glass into roof, making sure to center it.
- Now replace glass clips (2) and secure with screws (1) removed earlier.
- Now replace bottom of cage per your fixture instructions.

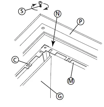
- If glass in bottom of the luminaire cage needs replacing first remove the top of the cage per you fixture instructions.
- Next remove the four screws (S) in the four corners of the bottom cage top casing (P). Lift casting off of bottom cage (C) – see Drawing 2.
- Now bend glass clips (C) up so glass panel (G) can be removed. Lift panel out of bottom cage by aligning glass panel with notched (N) in metal top band (M) of bottom cage.
- Slip new glass panel into bottom cage, bend glass clips over to secure glass in cage.
- Now replace top casting onto cage removed earlier and secure with screws.
- Assemble cage to roof following your fixture instructions.

The installation of this fixture will be accomplished by first making all necessary electrical connections and then mounting fixture body to installed post, using the screws supplied with fixture.
SAFETY WARNING
READ WIRING AND GROUNDING INSTRUCTIONS (I.S. 18) AND ANY ADDITIONAL DIRECTIONS. TURN POWER SUPPLY OFF DURING INSTALLATION. IF NEW WIRING IS REQUIRED, CONSULT A QUALIFIED ELECTRICIAN OR LOCAL AUTHORITIES FOR CODE REQUIREMENTS.
Make electrical connections from supply wire to fixture lead wires. Refer to instruction sheet (I.S. 18) and follow all instructions to make all necessary wiring connections. Then refer back to this sheet to complete installation of this fixture.
NOTE: MAKE SURE ALL WIRE NUTS USED ON ELECTRICAL CONNECTIONS ARE SILICONE FILLED.
- Now follow instruction sheet (IS-18) make all necessary wiring connections.
- After wiring is complete slip post fitter (1) of fixture body (2) over installed post and and tighten the three machine screws (3) in post fitter (1) to secure fixture to post
OPITIONAL
The following mounting is optional, but recommended in high wind areas or coastal regions.
- Take main body assembly (2) and slide the post fitter (1) over install post and mark the location of the three threaded mounting holes.
NOTE: MAKE SURE FIXTURE BODY IS ORIENTED IN THE POSITION YOU WANT, BEFORE MARKING THE HOLE LOCATIONS. - Now remove fixture body from installed post and using a #29 drill bit (3.5mm). Drill holes at the marked locations.
- Tap drilled holes with an 8-32 UNC tap.
- Next do all wiring connections follow (IS-18) provided, then slip wires into post and slide post fitter (1) over installed post. Align holes previously drilled and tapped and thread in screws to secure fixture.
NOTE: If the post is thin walled, 1/16” (2mm) thick or less replace machine screws with #8 stainless steel sheet metal screws
wiring grounding instructions
SAFETY WARNING: READ WIRING AND GROUNDING INSTRUCTIONS (IS 18) AND ANY ADDITIONAL DIRECTIONS. TURN POWER SUPPLY OFF DURING INSTALLATION. IF NEW WIRING IS REQUIRED, CONSULT A QUALIFIED ELECTRICIAN OR LOCAL AUTHORITIES FOR CODE REQUIREMENTS
wiring instructions
Indoor Fixtures
- Connect positive supply wire (A) (typically black or the smooth, unmarked side of the two-conductor cord) to positive fixture lead (B) with appropriately sized twist on connector – see Drawings 1 or 2.
- Connect negative supply wire (C) (typically white or the ribbed, marked side of the two-conductor cord) to negative fixture lead (D).
- Please refer to the grounding instructions below to complete all electrical connections

Outdoor Fixtures
- Connect positive supply wire (A) (typically black or the smooth unmarked side of the two-conductor cord) to positive fixture lead (B) with appropriately sized twist on connector — see Drawings 2 or 3.
- Connect negative supply wire (C) (typically white or the ribbed, marked side of the two-conductor cord) to negative fixture lead (D).
- Cover open end of connectors with silicone sealant to form a watertight seal. If installing a wall mount fixture, use caulk to seal gaps between the fixture mounting plate (backplate) and the wall. This will help prevent water from entering the outlet box. If the wall surface is lap siding, use caulk and a fixture mounting platform specially.
- Please refer to the grounding instructions below to complete all electrical connections.

grounding instructions
Flush Mount Fixtures
For positive grounding in a 3-wire electrical system, fasten the fixture ground wire (E) (typically copper or green plastic coated) to the fixture mounting strap (M) with the ground screw (S) – see Drawing 1.
Note: On straps for screw supported fixtures, first install the two mounting screws in strap. Any remaining tapped hole may be used for the ground screw.
Chain Hung Fixtures
Loop fixture ground wire (E) (typically copper or green plastic coated) under the head of the ground screw (S) on fixture mounting strap (M) and connect to the loose end of the fixture ground wire directly to the ground wire of the building system with appropriately sized twist-on connectors – see Drawing 2.
Post-Mount Fixtures
Connect fixture ground wire (E) (typically copper or green plastic coated) to power supply ground with appropriately sized twist-on connector inside post. Cover open end of connector with silicone sealant to form a watertight seal – see Drawing 3.

HINKLEY 33000 Pin Oak Parkway, Avon Lake, OH 44012 800.446.5539 / 440.653.5500 hinkley.com




















